Allegro MicroSystems AHV85003/AHV85043 Isolated SiC GateDriver Chip Set
Allegro MicroSystems AHV85003 and AHV85043 Isolated Silicon Carbide (SiC) GateDriver Chip Set is optimized for driving discrete SiC FETs in applications such as automotive onboard chargers (OBC), solar inverters, industrial robotics, data center power shelves, and general power supply applications. When combined with one of the recommended external transformers, the Allegro MicroSystems AHV85003 and AHV85043 Isolated SiC GateDriver Chip Set provides a self-powered, isolated gate drive solution ideal for multiple applications and topologies. A selection of recommended third-party transformers is available, each optimized for different drive voltages, gate charges, and isolation characteristics.
Features
- Power-thru chipset
- Interfaces to external pulse transformers
- Transmits both the PWM signal and bias power
- No high-side bootstrap or external bias-supply
- AEC-Q100 Grade 1 qualification
- Bipolar drive, selectable regulated positive rail, and configurable negative rails (secondary)
- Separate output gate pull-up and pull-down pins (6A each)
- Miller clamp (internal)
- Supply voltage of 10.5V < VDRV < 13.2V
- UVLO on primary VDRV and secondary VSECP supply rails
- EN (enable) input and FAULT output pins
- Overtemperature protection (primary and secondary)
- Wide -40°C to 125°C operating temperature range (TA)
- When matched with recommended external transformers
- Delivers up to 130nC gate charge at 25V (secondary)
- 85ns prop delay (typical)
- <50ns skew and pulse-width-distortion
- CMTI >100V/ns dv/dt immunity
Applications
- High-performance computing (HPC)
- OBC
- DC-DC converters
- Power conversion systems (PCS)
- Solar hybrid inverters
Videos
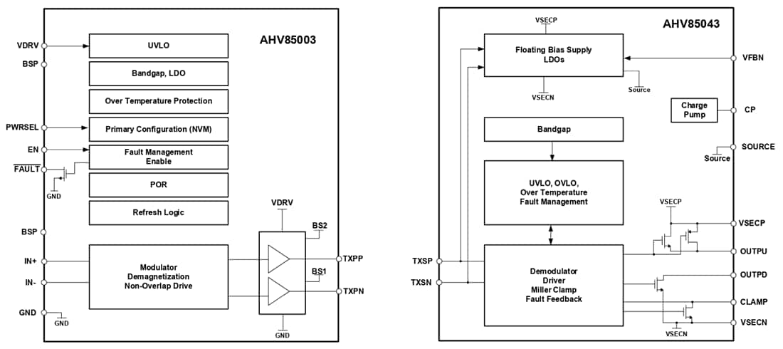
Functional Block Diagrams
Additional Resources
Development Tools
发布日期: 2026-01-06
| 更新日期: 2026-02-26
