Amphenol Casco 直流发动机冷却液液位传感器

Amphenol Casco 直流发动机冷却液液位传感器

Amphenol Casco 直流发动机冷却液传感器是一款 2 引脚直流电导传感器,设计为在发动机启动的短期间使用。这款 Amphenol Casco ECL 传感器非常适合用于重型卡车应用。这款 ECL 传感器采用了乐泰螺纹干密封剂。


特性
  • 在短期间内使用的 2 引脚直流电传导传感器
  • 乐泰螺纹干密封剂
  • 典型电气性能为 30% 至 70% 乙二醇 / 水混合物
  • 5V 开放线束
  • 冷却液外 4.19V < 4.89V
  • 冷却液内 2.52V < 3.50V
  • 不足 0.5V 短路线束
应用
  • 重型卡车

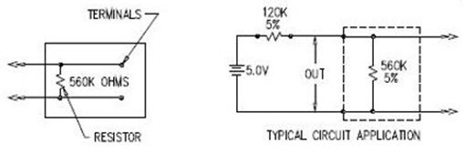
应用电路
应用电路
电子快讯
  • Amphenol Casco
发布日期: 2016-09-26 | 更新日期: 2022-03-11