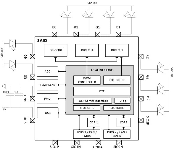
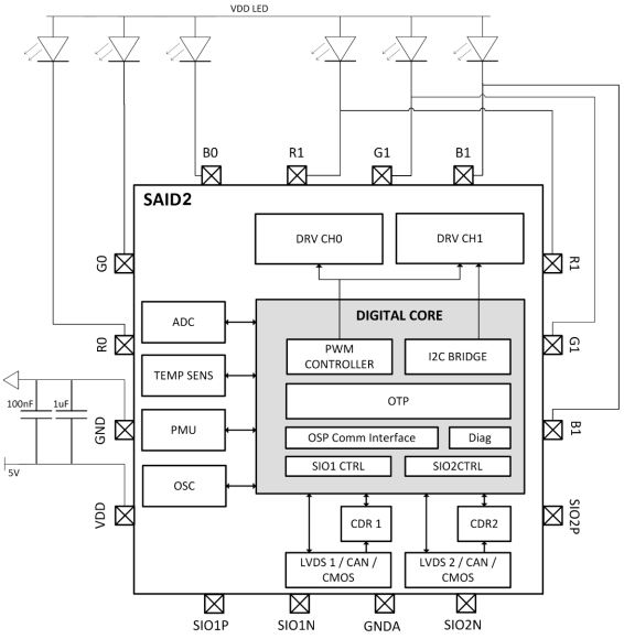
AS1163 SAID IC可驱动9个LED,以3通道三单元(RGB)形式组装,具有高达16位的独立PWM调光动态范围。AS1163B SAID2 IC可驱动6个LED,分成2通道三单元(RGB),具有高达16位的独立PWM调光动态范围。保护特性包括开路/短路/通信诊断和过压/过热保护。
特性
- 2.4Mbit/s双线菊花链(双向或环回)或星形拓扑
- 开路/短路/通信诊断和过压/过热保护
- 多达1000个节点
- 与采用菊花链的OSIRE E3731i兼容
- 输出集群(高达288mA)
- 亮度调整(16位)
- 防闪烁抖动
- 纤薄/单层PCB
- 两线SPI连接,带MCU
- AS1163(SAID):
- 3个RGB LED(48mA、24mA和24mA)
- 2个RGB LED+I2C
- 9个单色LED
- AS1163B(SAID2):
- 2个RGB LED(48mA、48mA和48mA)
- 1个RGB LED+I2C
- 6个单色LED
应用
- 内部动态照明效果
- 环境照明
- 功能照明
- 室外照明
- 车顶照明
- 智能表面
AS1163(SAID)框图
AS1163B(SAID2)框图
发布日期: 2025-02-18
| 更新日期: 2025-03-11

