Analog Devices Inc. AD-GMSL522-SL GMSL机器人快速开发平台
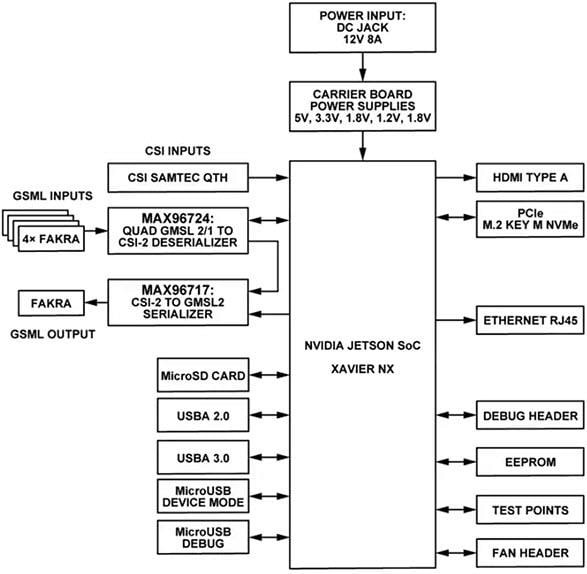
Analog Devices AD-GMSL522-SL GMSL机器人快速开发平台是支持GMSL的基于NVIDIA Jetson Xavier™ NX的载板和软件解决方案,可实现从摄像头到显示器的简单转换。这些解决方案创建了一个可扩展、用户友好的GMSL平台,用于接收和传输数据。这些平台可作为软件开发的硬件平台,促进示范和生态系统的发展。该设计集成了MAX96724GTN/VY+四通道GMSL2/1至CSI-2反序列器和MAX96717GTJ/VY+ CSI-2至GMSL2序列器,为评估高带宽GMSL提供了一个可靠的平台。这些电路板可用于传感器融合ECU、车载信息娱乐系统和ADAS摄像头解决方案。Analog Devices AD-GMSL522-SL系列支持两种形式的摄像头输入:通过Samtec连接器直接输入CSI数据,或通过使用GMSL2或GMSL1技术的摄像头模块连接通过COAX连接器的板载MAX96724。可使用AD-GMSLCAMRPI-SL适配器板连接GMSL评估套件或任何使用标准15引脚或22引脚Raspberry Pi连接器的摄像头。
AD-GMSL522-SL软件包包括支持客户开发GMSL应用的软件工具。这些工具包括支持某些摄像头模块的经修改的L4T内核及文档,让用户可以根据特定硬件需求更新这些内核。
特性
- 支持NVIDIA Jetson™ SoC的GMSL2原型设计系统
- 板载MAX96724支持4个GMSL2/1相机输入,提供相机模块调通、调试和视频流
- 板载MAX96717,可用于摄像头仿真和音响主机调试
- 支持利用NVIDIA Jetson SoC开发GMSL应用
- SAMTEC连接器,支持将任何GMSL DPHY评估套件连接到NVIDIA Jetson
- 额外的USB、以太网、PCIe和microSD卡输入
应用
- ADAS摄像头解决方案
- 传感器融合ECU
- 驾驶员和乘客监控
- 车内信息娱乐系统
视频
系统架构
发布日期: 2024-08-30
| 更新日期: 2025-03-13
