ADI AD3530/AD3530R DAC包含集成多路复用器,可监控输出电压、电流和内部裸片温度。该器件结合了上电复位(POR)电路,可确认DAC输出功率高达32kΩ并存在至接地,直到执行一次有效的写入操作。该DAC还具有掉电模式,典型电流消耗低至670μA。
兼容串行外设接口 (SPI) 和MICROWIRE®的4线串行接口支持1.08V至1.98V的逻辑电平范围,以及高达50MHz的时钟频率。
AD3530/AD3530R采用2.1mm×2.2mm、25焊球WLCSP封装。
特性
- 16位分辨率、±3 LSB16 INL、±1 LSB16 DNL
- 总不可调整误差 (TUE):±0.22% FSR(最大值)
- 失调误差:±1.6mV(最大值)
- 增益误差:±0.26% FSR(最大值)
- 保证50mA的拉电流
- 超低裕量:25mV(20mA负载时)
- 2.5V内部电压基准,5ppm/°C(典型值)
- 噪声频谱密度:62nV/√Hz(外部基准)
- 噪声频谱密度:115nV/√Hz(内部基准)
- 输出电压、电流和裸片温度监控器
- 50MHz SPI写入和读取
- 电源电压范围:2.7 V至5.5 V
- 1.2V或1.8V兼容数字接口
- 工作温度范围: -40 °C - +125 °C
- 2.1mm x 2.2mm、25焊球WLCSP小型封装
应用
- 光收发器
- 测试与测量
- 工业自动化
- 数据采集系统
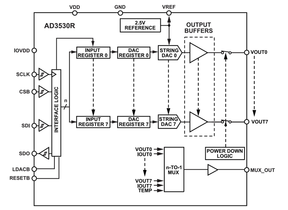
功能框图
发布日期: 2025-03-14
| 更新日期: 2025-03-18

