AD4129可测量低频信号,电流消耗为28.5μA(增益 = 1)和32.5μA(增益 = 128),同时使用其中一个占空比选项时连续转换甚至更低的平均电流。将AD4129-8配置为具有8个差分输入或16个单端或伪差分输入,可连接到交叉点多路复用器,其中任何输入对均可成为PGA和ADC的测量通道输入。
Analog Devices AD4129设计用于在1.71V至3.6V单模拟电源电压下工作。在电池应用中,低至1.71V的工作电压可延长系统的使用寿命,因为即使电池电压耗散,AFE也能继续运行。数字电源可以独立,范围为1.65V至3.6V。随着电流消耗的降低,将片上FIFO缓冲器与智能定序器集成,使AD4129成为自主测量系统,允许微控制器长时间休眠。
智能中断功能增强了对错误检测和安全性的信心。当FIFO中的样品达到预定义值或超过用户可编程阈值时,启用中断信号触发。高水平的集成前端功能与小型封装选项相结合,可实现更小尺寸的解决方案。例如,AD4129集成了低热漂移带隙基准电压源,并接受可在内部缓冲的外部差分基准电压源。
在安全关键型应用中,AD4129包括诊断功能,例如通过熔断电流进行电线开路检测、内部温度传感器、基准检测以及模拟输入过压和欠压检测。数字接口增加了诊断功能,如循环冗余校验 (CRC) 和串行接口校验,可实现稳健的通信链路。
特性
- 超低电流消耗(典型值)
- 连续转换模式:32µA(增益 = 128)
- 占空比模式:5µA(比率 = 1/16)
- 待机模式:0.5µA
- 掉电模式:0.1µA
- 内置各种系统级节能功能:
- 节电占空比为1/4或1/16
- 智能时序控制器和每个通道配置可将主机处理器负载降至最低
- 深度嵌入式FIFO可将主机处理器负载降至最低(样本深度为256)
- 自主FIFO中断功能,阈值检测
- 低至1.71V的单电源可延长电池工作时间
- RMS噪声:25nV rms(1.17SPS时)(增益=128)– 48nV/√Hz
- 高达22个无噪声位(增益 = 1)
- 输出数据速率为1.17SPS至2.4kSPS
- 由1.71V至3.6V单电源或±1.8V分离电源供电
- 15ppm/°C最大漂移时的带隙基准电压
- 具有轨到轨模拟输入的PGA
- 自适应传感器接口功能
- RTD的匹配可编程激发电流
- 适用于热电偶的片内偏置电压发生器
- 适用于桥传感器的低端电源开关
- 传感器明线检测
- 内部温度传感器和振荡器
- 自校准和系统校准
- 灵活的滤波器选项
- 同时进行50Hz/60Hz抑制(所选滤波器选项上)
- 通用输出
- 诊断功能
- 交叉点多路复用输入
- 8个差分/16个伪差分输入
- 5MHz SPI(3线或4线)
- 提供35球、2.74mm × 3.6mm WLCSP (AD4129-8) 或32引脚、5mm × 5mm LFCSP封装 (AD4129-4)。
- 温度范围:-40 °C至+105 °C
应用
- 智能变送器
- 无线电池和收割机供电的传感器节点
- 便携式仪器仪表
- 温度测量:热电偶、RTD、热敏电阻
- 压力测量:桥传感器
- 医疗保健和可穿戴设备
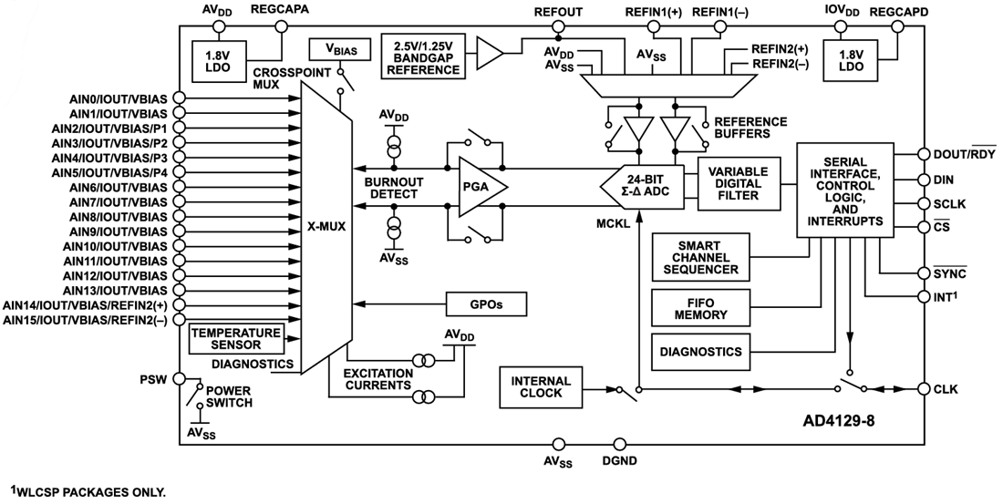
功能框图
View Results ( 2 ) Page
| 物料编号 | 数据表 | 描述 |
|---|---|---|
| AD4129-4BCPZ-RL7 | ![]() |
模数转换器 - ADC Ultra-Low Power, 4ch Sys 16 Bit S-? ADC |
| AD4129-8BCBZ-RL7 | ![]() |
模数转换器 - ADC Ultra-Low Power Hi Integrated 16 Bit ADC |
发布日期: 2023-03-20
| 更新日期: 2024-07-03


