该架构集成了参考和诊断能力,简化了系统设计,同时确保了强大的性能。该设备具备低功率和多种运行模式,针对节能系统进行优化。通过标准SPI接口支持通信,可无缝集成到基于微控制器的平台中。AD4195-4适用于工业自动化、医疗仪器、电子秤和其他精密测量系统,其高分辨率、低噪声和可靠性使其成为关键应用的理想选择。
特性
- 在3.8SPS采样率、增益为128时,输入参考噪声为10nV
- 交叉点多路模拟输入
- 4路差分/8路伪差分输入
- 超低噪声集成PGA,增益范围为0.5至128
- 输出数据速率:3.8SPS至62.5kSPS
- 灵活的数字滤波器
- 低延迟sinc滤波器
- 同时 50Hz/60Hz 噪声抑制
- 带隙参考源,典型温度漂移为5ppm/°C
- 内部振荡器
- 电源
- 模拟:4.75V至5.25V或±2.5 V
- 数字:1.7 V至5.25 V
- 匹配的可编程激励电流源
- 低侧电源开关
- 片上偏置电压生成器
- 内部温度传感器
- 4个通用输入/输出
- 内部和系统校准
- 传感器开路检测
- 诊断功能
- 符合通道配置
- 灵活的自动通道排序器
- 3线或4线串行接口(SCLK上带施密特触发器),兼容SPI、QSPI、MICROWIRE和DSP
- 兼容TDM的接口用于数据流传输
- 温度范围
- 性能:-40°C至+105°C
- 功能:-40 °C至+125 °C
- 32引脚4mm x 6mm LFCSP封装
- 潮湿敏感度等级 (MSL) 3
应用
- 工业流程控制(PLC/DCS模块)
- 温度测量
- 压力测量
- 医疗与科学仪表
- 色谱仪
- 环境监测
- 电气测试和测量
- 仪器仪表
- 电子秤
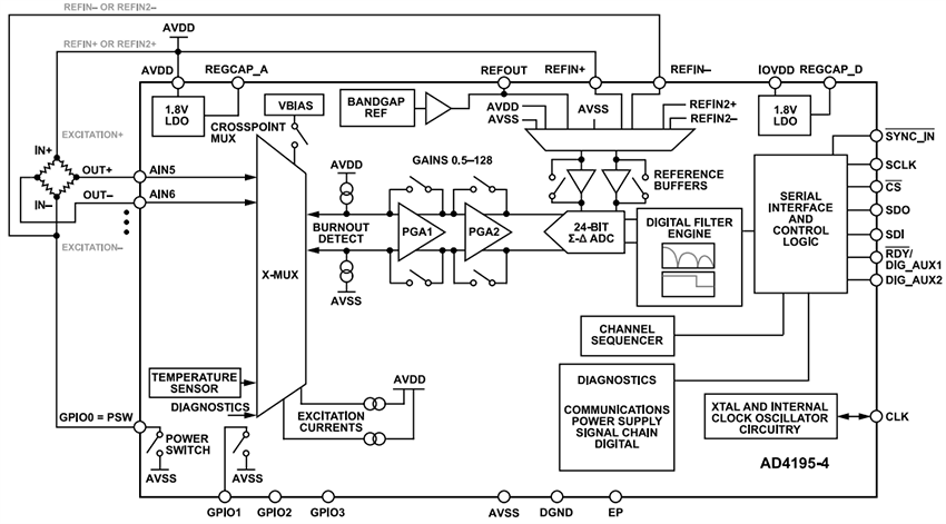
方框图
电子秤应用电路
3线RTD应用电路
发布日期: 2025-12-01
| 更新日期: 2026-01-22

