Analog Devices Inc. AD5676 八通道、16位 nanoDAC
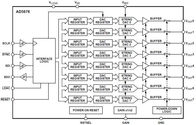
亚德诺半导体 AD5676/R 八通道,16 位 nanoDAC 是一款低功耗数模转换器,内置一个增益选择引脚,提供满量程输出 VREF (增益 = 1)或 2 x VREF (增益 = 2)。该器件采用 2.7V 至 5.5V 单电源供电,设计时保证了单调性。ADI AD5676/R nanoDAC 采用 20 引脚 TSSOP 包装,内含一个上电复位电路和一个 RSTSEL 引脚,以确保数模转换器输出上电至零电平或中等电平并保持该电平,直到执行一次有效的写入操作为止。AD5676/R nanoDAC 具有掉电模式,在掉电模式下典型电流消耗降至 1μA。AD5676/R nanoDAC 具有 -40ºC 至 125ºC 的工作温度范围。特性
- High performance
- High relative accuracy (INL): ±3 LSB maximum at 16 bits
- Total unadjusted error (TUE): ±0.14% of FSR maximum Offset error: ±1.5 mV maximum
- Gain error: ±0.06% of FSR maximum
- Wide operating ranges
- -40°C to +125°C temperature range
- 2.7V to 5.5V power supply
- Easy implementation
- User-selectable gain of 1 or 2 (GAIN pin)
- 1.8V logic compatibility
- 50MHz SPI with readback or daisy chain
- Robust 2kV HBM and 1.5kV FICDM ESD rating
- 20-lead, TSSOP RoHS-compliant package
应用
- Optical transceivers
- Base station power amplifiers
- Process control (PLC input/output cards)
- Industrial automation
- Data acquisition systems
Functional Block Diagrams
发布日期: 2015-01-13
| 更新日期: 2024-03-28
