该器件的每个输出通道均设有一个专用电源引脚。每个通道的工作电压范围为2.85V至33V,内部开关支持将任何输出拉至可选的负电源。Analog Devices AD5778R包括一个精密集成的1.25V基准(最大值为10ppm/°C),并可选择使用外部基准。SPI-/兼容Microwire 3线串行接口在低至50MHz的逻辑电平上以高达1.71V的时钟速率工作。
特性
- 每通道可编程输出范围:300mA、200mA、100mA、50mA、25mA、12.5mA、6.25mA和3.125mA
- 灵活的电源电压:2.85 V至33 V
- 保证1V压差
- 每个输出通道具有单独的电压电源
- 连接到可选负电源的内部开关
- 所有范围内均提供完整的16位分辨率
- 保证工作温度范围:-40°C至125°C
- 精密(10ppm/°C最大值)内部基准或外部基准输入
- 模拟多路复用器监视电压和电流
- 通过SPI或专用引脚实现A/B转换
- 1.8V至5V SPI
- 32引线(5mm×5mm)QFN封装
应用
- 可调谐激光器
- 半导体光学放大器
- 电阻加热器
- 电流模式偏置
- 比例螺线管驱动器
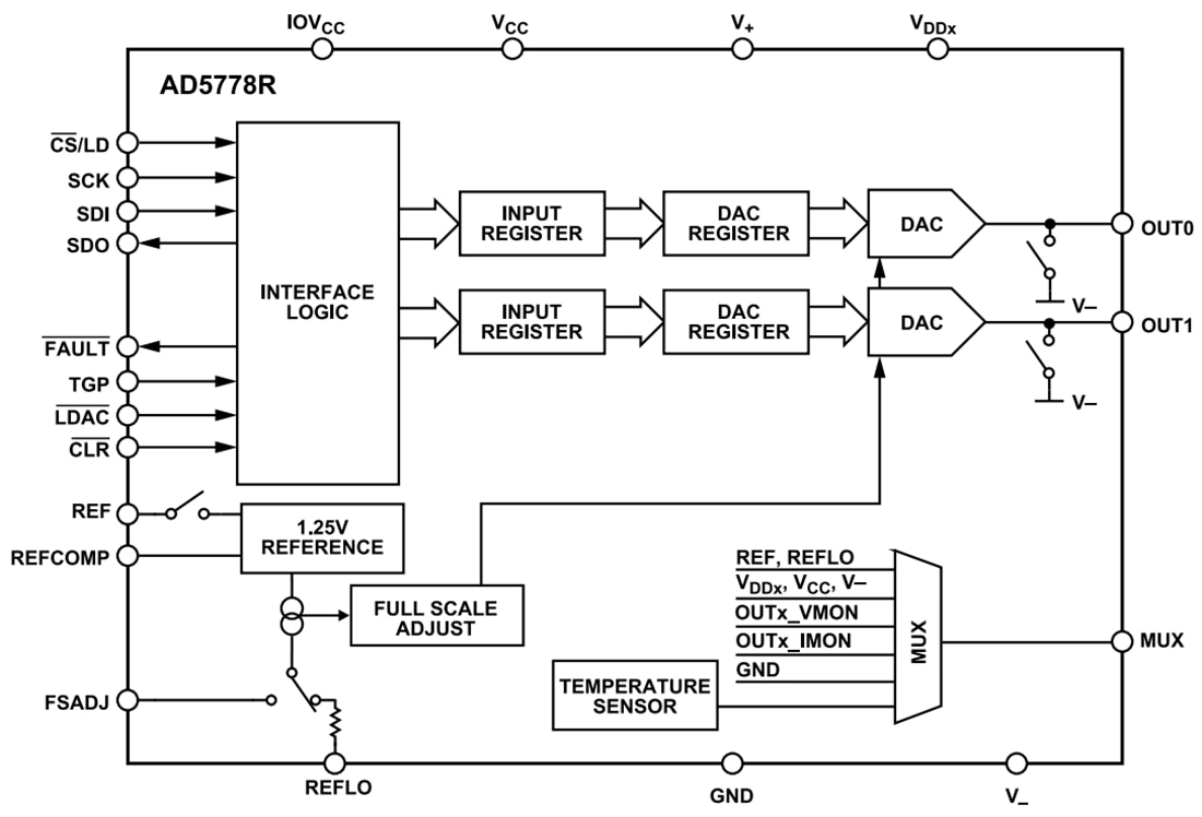
功能框图
发布日期: 2024-08-07
| 更新日期: 2024-09-04

