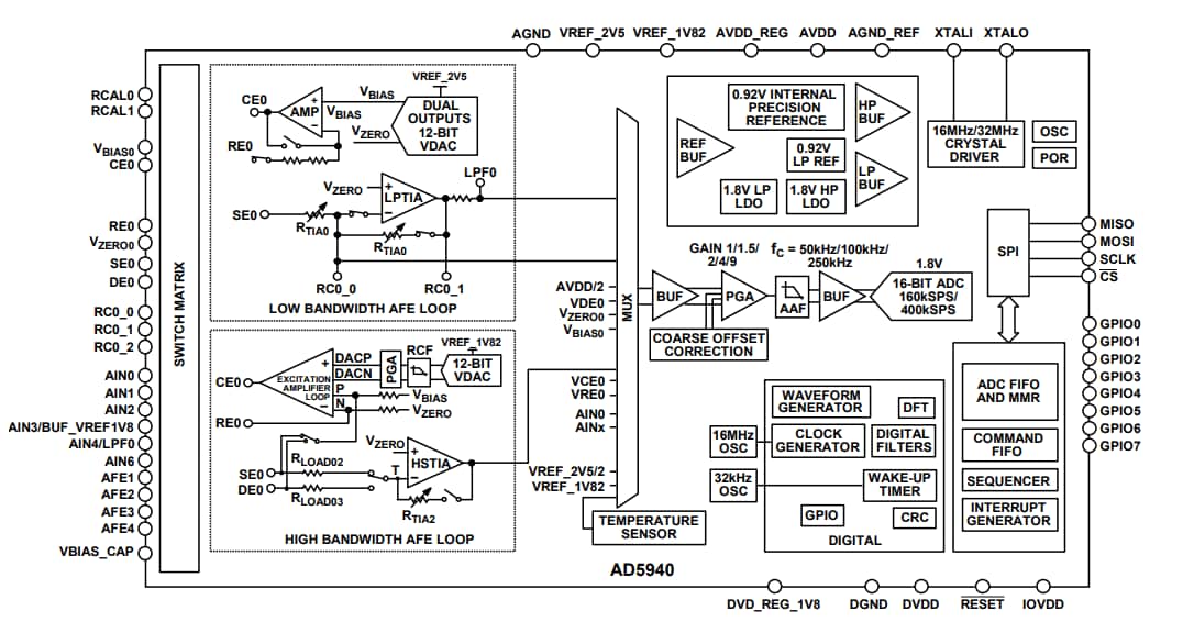
AD5940/AD5941测量通道内置集成输入缓冲器的16位、800kSPS多通道逐次逼近寄存器 (SAR) 模数转换器 (ADC)、内置抗混叠滤波器和可编程增益放大器 (PGA)。ADC前面的输入复用器允许用户选择输入通道进行测量。这些输入通道包括多个外部电流输入、外部电压输入和内部通道。利用内部通道,可对内部电源电压、裸片温度和基准电压源进行诊断测量。
AD5940采用2.8V至3.6V电源,额定温度范围为-40°C至+85°C。AD5940采用56引脚、3.6mm × 4.2mm晶圆级芯片尺寸封装 (WLCSP)。
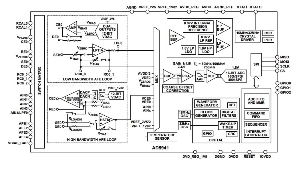
AD5941采用48引脚引线框架芯片级封装 (LFCSP)。
特性
- 模拟输入:
- 16位、800kSPS ADC
- 电压、电流和阻抗测量能力
- 内部和外部电流和电压通道
- 超低漏电流开关矩阵和输入多路复用器
- 输入缓冲器和可编程增益放大器电压DAC
- 电源:
- 上电复位
- 启动低功耗DAC和恒电位仪放大器的休眠模式,以保持传感器偏置
- 放大器、加速器和基准电压源:
- 1个低功耗、低噪声恒电位仪放大器,适用于电化学检测中的恒电位偏置
- 1个低噪声、低功耗跨阻抗TIA,适用于测量电流输出
- 用于传感器输出的可编程负载和增益电阻
- 模拟硬件加速器
- 数字波形发生器
- 接收滤波器
- 复阻抗测量 (DFT) 引擎
应用
- 电化学测量
- 电化学气体传感器
- 恒电位仪/安培/伏安法/循环伏安法
- 生物阻抗
- 皮肤阻抗
- 人体阻抗
- 连续血糖监测
- 电池阻抗
规范
- 模拟输入、放大器、加速器和基准电压源:
- 16位、800kSPS ADC
- 双输出电压DAC,输出电压为0.2V至2.4V
- 传感器输出范围至±607mV
- 50pA至3mA范围
- 2.5V和1.82V内部基准电压源
- 6.5μA超低功耗恒电位仪通道
- 电源:
- 2.8V至3.6V电源电压
- 兼容1.82V输入/输出
- 封装和温度范围:
- 56焊球WLCSP
- 尺寸:3.6mm x 4.2mm
- 工作温度范围:-40°C至85°C
简化框图
发布日期: 2019-05-07
| 更新日期: 2026-03-25

