Analog Devices Inc. AD7779 24位同步采样模数转换器
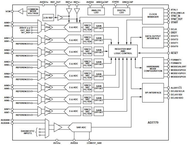
Analog Devices AD7779包含8通道24位同步采样模数转换器 (ADC),设计用于确保断路器设备能够在智能电网系统快速加电。 片内有8个完整的Σ-Δ ADC。 八个同步采样通道测量三相电源应用中电流和电压传感器的输出值。 每个输入通道都有一个针对增益 1、2、4、8 的可编程增益级,用以将低振幅传感器输出映射到满量程 ADC 输入范围中。 这种设计可使信号链的动态范围最大化。 AD7779 ADC在8kSPS条件下可实现112dB动态范围,能够在单个ADC通道上实现保护整合和测量功能。 此外,AD7779 ADC还集成有可编程增益放大器(PGA),以放大各传感器输出。 采样速率转换器 (SRC) 可提供分辨率高达15.25µSPS的采样率。 SRC 有助于在 50Hz (-15%) 至 60Hz (+15%) 频率范围内一直保持在 0.01Hz 的线路频率变化。 另一个低分辨率 SAR ADC 通道由单独电源供电,用于为系统和芯片诊断提供数据。The AD7779 ADCs achieve a 112dB dynamic range at 8kSPS and enable the consolidation of protection and measurement functions on a single ADC channel. In addition, the AD7779 ADCs integrates a programmable gain amplifier (PGA) to scale various sensor outputs. A sample rate converter (SRC) offers a sampling rate of resolution up to 15.25µSPS. The SRC helps maintain coherency to a 0.01Hz change in line frequency over a 50Hz (-15%) to 60Hz (+15%) range. An additional low-resolution SAR ADC channel operates from a separate power supply and provides data for system and chip diagnostics.
特性
- 8-channel, 24-bit simultaneous sampling analog-to-digital converter (ADC)
- Single-ended or true differential inputs
- Programmable gain amplifier (PGA) per channel (gains of 1, 2, 4, and 8)
- Low DC input current: ±4nA
- Up to 16kSPS output data rate (ODR) per channel
- Programmable ODRs and bandwidth
- Sample rate converter (SRC) for coherent sampling
- Sampling rate resolution up to 15.2μSPS
- Low latency sinc3 filter path
- Adjustable phase synchronization
- Internal 2.5V reference
- Two power modes
- High-resolution mode
- Low power mode
- Optimizes power dissipation and performance
- Low-resolution successive approximation (SAR) ADC for system and chip diagnostics
- Power supply
- Bipolar (±1.65V) or unipolar (3.3V) supplies
- Digital input/output (I/O) supply: 1.8V to 3.6V
- Performance temperature range: -40°C to +105°C
- Functional temperature range: -40°C to +125°C
应用
- Circuit breakers
- General-purpose data acquisition
- Electroencephalography (EEG)
- Industrial process control
技术文章
-
Newest Sigma-Delta ADC Architecture Averts Disrupted Data Flow
This article introduces the way distributed data acquisition systems have been traditionally synchronized for both SAR ADC-based systems and sigma-delta (∑-Δ) ADC-based systems and explores the differences among the two architectures. -
Why Is DC Energy Metering Important?
Driven by the development of efficient and economic power conversion technology based on wide bandgap semiconductors, such as GaN and SiC devices, many applications now see benefits in switching to DC energy exchange. As a consequence that, precision DC energy metering is becoming relevant, especially where energy billing is involved.
Functional Block Diagram
