特性
- 电源供电:1.0V和1.8V
- 可用模拟输入带宽:125MHz
- 采样率高达2 GSPS
- 100MHz带宽下的噪声频谱密度=−145dBFS/Hz,2.0 GSPS编码
- SNR=66dBFS(100MHz带宽、2.0 GSPS编码)
- SNR=82dBFS(15.625MHz带宽,2.0 GSPS编码)
- SFDR=60dBc(100MHz带宽,2.0 GSPS编码)
- SNR =80dBc(15.625 MHz带宽,2.0 GSPS编码)
- 大信号抖动
- 2.0 GSPS时每通道总功耗为90mW(默认设置),每通道功耗为35mW(最小值)
- 灵活的差分输入范围:0.5 V p-p 至2 V p-p
- 90dB通道串扰、2.0 GSPS编码
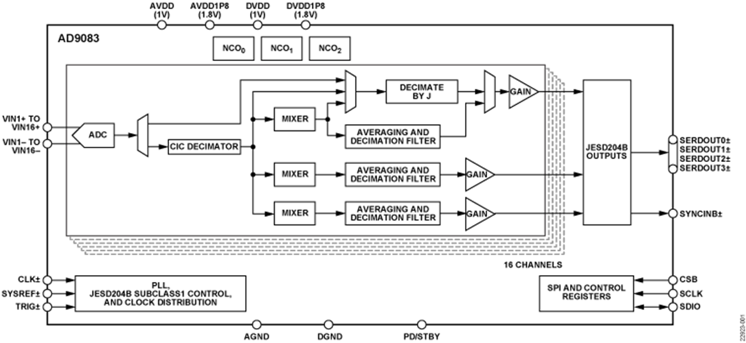
- 数字处理器
- CIC抽取滤波器
- 可编程DDC
- 数据门控
- JESD204B子类1编码输出
- 支持高达16Gbps/通道
- 灵活的采样数据处理
- 灵活的JESD204B通道配置
- 串行端口控制
应用
- 毫米波成像
- 电子波束形成和阵列相控阵
- 多通道宽带接收器
- 电子支援措施
框图
发布日期: 2021-01-27
| 更新日期: 2023-04-17

