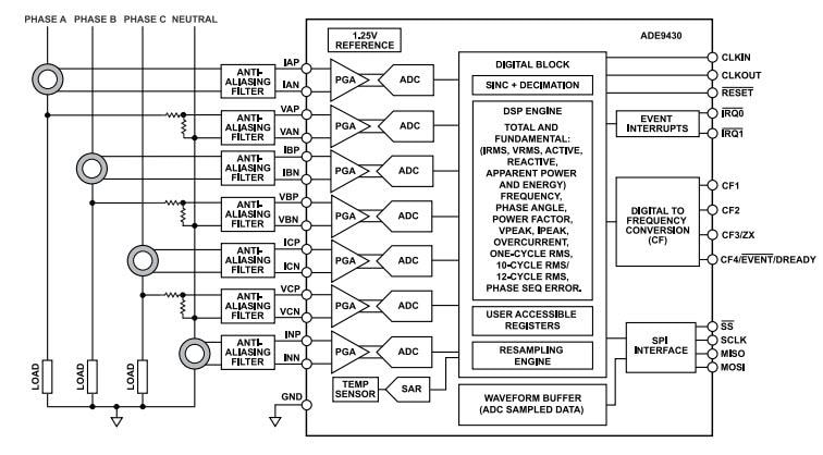
ADE9430通过紧密集成采集和计算引擎,简化了电能和电源质量监控系统的实施和认证。集成ADC和DSP引擎通过用户可访问的寄存器计算各种参数并提供数据,或通过中断引脚指示事件。ADE9430集成了七个专用ADC通道,可在3相系统或多达三个单相系统上使用。该器件与外部模拟积分器搭配使用时,支持电流互感器 (CT) 或洛氏线圈进行电流测量。
ADE9430电源质量监测IC可用于确定基于逆变器的资源(包括太阳能光伏、能量存储器解决方案 (ESS) 和双向电动汽车充电器)馈送到电网的谐波量。通过监控电网上的干扰,该解决方案可实现更好的诊断,以优化可添加的分布式能量资源,从而实现更可靠的清洁能源电网。
Analog Devices Inc. ADE9430电源质量监控IC采用40引线框架芯片尺寸级封装,符合RoHS标准。
特性
- 7个高性能、24位Σ-Δ模数转换器 (ADC)
- 8kSPS时为101 dB SNR,PGA = 1
- 宽输入电压范围:±1V、707 mV rms满量程(增益 = 1 时)
- 差分输入
- 最大通道漂移:±25ppm/°C(包括ADC、内部VREF、PGA漂移)支持10000:1动态范围,Class 0.2计量,具有标准外部组件数量
- 具有可选的ADSW-PQ-CLS电源质量库,全面实施了IEC 61000-4-30 S类电源质量标准,包括
- 功率频率:10秒(平均值)
- 供应的幅度
- Dips和swells
- 中断
- 快速电压变化
- 闪烁
- 主电源信号电压
- 下偏差和过偏差
- 电压和电流
- 幅度
- 谐波
- 互谐波
- 不平衡
- THD
- 波形录制
- 可选ADSW-PQ-CLS电源质量库,兼容Arm® Cortex微控制器
- VRMS单周期和IRMS单周期每周期刷新
- VRMS和IRMS滤波,更新每个样本
- 10个周期rms/12个周期rms
- 周期寄存器,用于计算线路频率,每相一个
- 过零和过零超时
- 相位角度测量
- 支持CT
- 针对CT的多点相位和增益补偿
- Rogowski线圈,增加了一个外部模拟积分器
- 可提供连续resamled数据
- 波形缓冲器
- 一系列高级计量特性
- 总和基波有功功率、无功功率 (VAR)、视在功率 (VA)、瓦时、乏时和伏安时
- 总和基波IRMS和VRMS
- 功率因数
- 支持有功电能标准:IEC 62053-21与IEC 62053-22、EN50470-3、OIML R46和ANSI C12.20
- 支持无功电能标准:IEC 62053-23、IEC 62053-24
- 高速通信端口20 MHz SPI
- 集成12位逐次逼近寄存器(SAR) ADC的温度传感器
- 精度:±3°C(−40°C到+85°C)
- 带EPAD的6mm×6mm×0.75mm LFCSP-40封装
应用
- 电能和电源监控
- 符合标准的电源质量监控
- 防护器件
- 机械健康状况
- 智能配电单元
- 多相电表
视频
框图
发布日期: 2022-10-25
| 更新日期: 2025-01-29

