Analog Devices Inc. ADEMA124/ADEMA127 24位Σ-Δ ADC
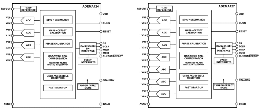
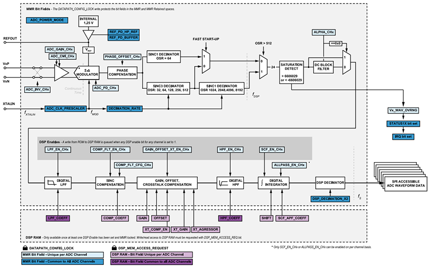
Analog Devices Inc. ADEMA124/ADEMA127 24位Σ-Δ ADC分别为4通道和7通道,属于同时采样型模数转换器 (ADC),设计用于多相和分相能量计量应用。这些设备与分压器、分流器以及隔离式电流传感器(如电流互感器和罗戈夫斯基线圈)兼容。每个ADC通道都包含独立的硬件和DSP滤波器,可实现增益、相位和偏置补偿。此外,这些转换器还具有专门的DSP功能,包括积分器和二阶高通滤波器,可简化罗戈夫斯基线圈传感器的实现。针对常见使用案例,提供了预加载的DSP滤波器系数,可根据具体要求进行定制。ADI ADEMA124和ADEMA127集成了sinc补偿、低通滤波和DSP二倍降采样功能,在给定的输出采样率下,可将可用模拟带宽扩展至70%。这种高带宽使得这些器件适用于符合IEC 61000-4-30电能质量A类和S类标准的电能表。这些ADC还支持符合有功电能标准,例如IEC 62053-21、IEC 62053-22OIML R46和ANSI C12.1,以及无功电能标准,包括IEC 62053-23、IEC 62053-24和EN 50470-3。ADEMA124和ADEMA127 ADC的启动时间仅为0.5ms(典型值),非常适合用于断路器和保护继电器,特别是与罗戈夫斯基传感器一起使用时。
为了进行配置和数据检索,这些ADC提供带菊花链功能的灵活SPI接口,允许通过单个SPI端口为多个ADC提供服务,并减少主机微控制器上的引脚数。这些器件也可通过菊花链与ADE9112/ADE9113隔离型ADC兼容。为了确保数据完整性,器件内置独立的循环冗余校验 (CRC) 机制,用于检测SPI通信中的错误,并防止对配置寄存器进行意外更改。
特性
- 4通道 (ADEMA124) 或7通道 (ADEMA127) 高性能、同时采样Σ-Δ ADC
- 高达105dB SNR
- 最高可编程采样率为64kSPS
- 宽±1.2VPK输入电压范围,满量程为848mVRMS
- 高阻抗、差分输入
- 典型内部电压基准温度系数为5ppm/°C
- 集成数字积分器和高通滤波器,用于与罗戈夫斯基线圈一起使用
- 有效供电后,仅需0.5ms即可完成启动并开始采样
- 防篡改检测模式,低功率,适用于电池备份
- 4线SPI带有双向CRC校验和菊花链功能
- 多个ADC设备的简单同步
- 每个通道单独的增益、相位和偏置补偿
- 唯一的SPI可读部件ID寄存器
- 功耗仅有18mW的7通道ADC
- 宽温度范围:-40 °C至+125 °C
- 紧凑型32引脚、5mm x 5mm LFCSP封装
- 潮湿敏感度等级 (MSL) 3
应用
- 多相电能表
- 分相能量表
- 分支电路监控
- 配电单元
- 电力质量监控
- 断路器
- 保护继电器
- 电动汽车供电设备
资源
- ADEMA124/ADEMA127校准指南
- 应用注释AN-2625 - 使用多个ADE ADC进行设计
功能框图
数据路径
发布日期: 2025-12-02
| 更新日期: 2026-01-02
