 |
|
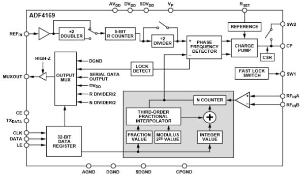
Analog Devices ADF4169 小数 N 分频 频率合成器Analog Devices ADF4169 小数 N 分频频率合成器是一款具有调制能力的 13.5GHz 合成器。 ADF4169 具有快速和慢速波形生成能力。 该器件使用 25 位固定模数, 该模数提供次赫兹频率分辨率。
ADF4169 合成器由可编程参考分频器、由低噪声数字鉴频鉴相器 (PFD) 和精密电荷泵和组成。 该器件内置一个Σ-Δ型小数插值器,能够实现可编程小数N分频。 合成器的 INT 和 FRAC 寄存器可构成一个总 N 分频器,N = INT + (FRAC/225)。 一个简单的三线式接口控制所有片上寄存器。
设计人员可以使用 ADF4169 合成器集成频移键控 (FSK) 和相移键控 (PSK) 调制。 还有一些可用的频率扫描模式,可在频域内产生各种波形。 设计人员可将扫描设置为自动进行,也可设置为通过外部脉冲手动触发每个步骤。
该设计还包含周跳减少电路,可进一步缩短锁定时间,而无需修改环路滤波器。
ADF4169 采用 2.7V-3.45V 模拟电源和 1.8V-2.0V 数字电源供电。 不用时可以关断 ADF4169 合成器。
|
特性 - 射频带宽达 13.5GHz
- 高速和低速 FMCW 斜坡发生
- 25 位固定模数可提供次赫兹频率分辨率
- PFD 频率最高达 130 MHz
- 归一化相位噪底: −224dBc/Hz
- FSK 和 PSK 功能
- 锯齿波和三角波波形生成
- 斜坡与 FSK 叠加
- 具有 2 种不同扫描速率的斜坡
- 斜坡延迟、频率回读和中断功能
- 可编程相位控制
- 2.7V-3.45V 模拟电源
- 1.8V-2V 数字电源
- 可编程电荷泵电流
- 3 线串行接口
- 数字锁定检测
- ESD 性能:3000V HBM、1000V CDM
- 可满足汽车应用的需求
应用 |
功能框图
 |
|
 |
发布日期: 2015-09-29
| 更新日期: 2022-03-11