Analog Devices Inc. ADF4382x小数N分频锁相环 (PLL)
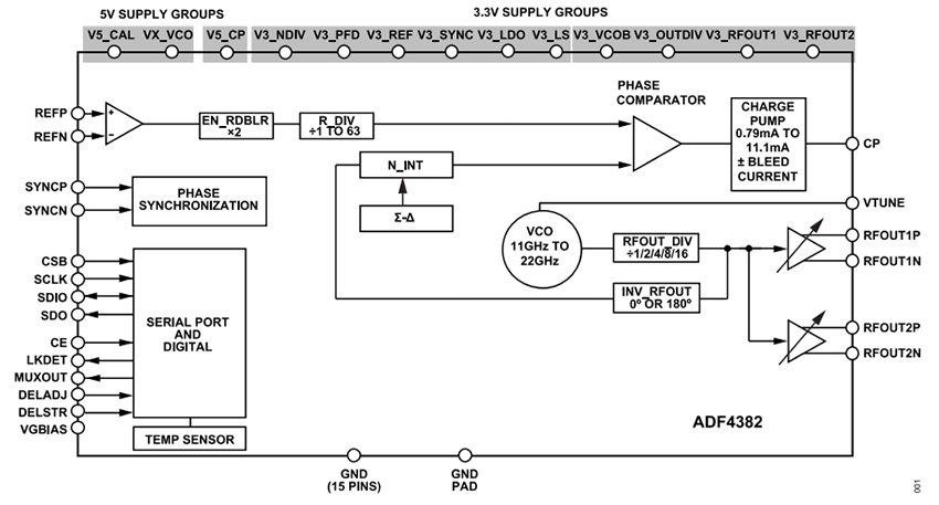
Analog Devices ADF4382x小数N分频锁相环 (PLL) 是一款高性能、超低抖动、小数N分频锁相环 (PLL)。它集成了压控振荡器 (VCO),是5G或数据转换器时钟应用生成本地振荡器 (LO) 的理想之选。该高性能PLL的品质因数包括-239dBc/Hz、1/f低噪声、整数模式下PFD频率为625MHz,可实现超低带内噪声和集成抖动。ADF4382x可生成11.5GHz至21GHz基倍频程范围内的频率,无需使用次谐波滤波器。ADF4382x上的二分频和四分频输出分频器可分别生成5.75GHz至10.5GHz和2.875GHz至5.25GHz的频率。Analog Devices ADF4382x通过在PLL反馈环路中添加输出分频器,自动将其输出与多个数据转换器时钟应用的输入参考边缘对齐。针对需要确定性延迟或延迟调整功能的应用,提供了分辨率小于1ps的可编程输出延迟参考。跨多个设备和温度的输出延迟匹配参考可实现可预测且精确的多芯片时钟和系统参考 (SYSREF) 对齐。ADF4382x框图简洁,具有简化的串行外设接口 (SPI) 寄存器映射、可重复的多芯片时钟对齐,并且通过允许片外SYSREF生成来限制不需要的时钟杂散,从而缩短了开发时间。
特性
- 输出频率范围:687.5MHz至22GHz
- 集成RMS抖动:20GHz
- 20fs(集成带宽:100Hz至100MHz)
- 31fs(ADC SNR方法)
- 快速VCO校准时间:<>
- VCO自动校准时间:<>
- 相位噪底:-156dBc/Hz(20GHz时)
- PLL规格
- 标称带内相位噪底:-239dBc/Hz
- 标称1/f相位噪底:-287dBc/Hz
- 最大相位/频率检测器输入频率:625MHz
- 基准输入频率:4.5GHz
- 典型杂散fPFD :-90dBc
- 输出延迟参考规格
- 传播延迟温度系数:0.06ps/°C
- 调整步长:<>
- 多芯片输出相位对齐
- 3.3V和5V电源
- ADIsimPLL™环路滤波器设计工具支持
- 7mm × 7mm、48端子LGA封装
- 工作温度范围:-40 °C至+105 °C
应用
- 高性能数据转换器时钟
- 无线基础设施(MC-GSM、5G、6G)
- 测试与测量
功能框图
发布日期: 2024-07-05
| 更新日期: 2025-06-20
