Analog Devices Inc. ADF4383小数N分频锁相环 (PLL)
Analog Devices ADF4383分数分频锁相环(PLL)是一款高性能、超低抖动、分数分频锁相环(PLL),集成有电压控制振荡器(VCO)。它们非常适合用于5G应用中的本地振荡器 (LO) 生成,或数据转换器的时钟应用。这款高性能PLL具有-239dBc/Hz的优异品质因素、低1/f噪声,并在整数模式下支持高达625MHz的PFD频率,可以实现超低带内噪声和积分抖动。ADF4383可以在10GHz至20GHz的基波倍频范围内生成频率,无需使用次谐波滤波器。ADF4383上的输出分频器可产生从625MHz至20GHz的完整输出频率范围。ADF4383通过将输出分频器包含在PLL反馈回路中,自动将其输出与输入参考边缘对齐,适用于多个数据转换器时钟应用。为需要确定性延迟或延迟调整能力的应用,提供了可编程参考输出延迟,分辨率小于1ps。在多个设备和温度范围内,参考输出延迟匹配允许实现可预测且精确的多芯片对齐。
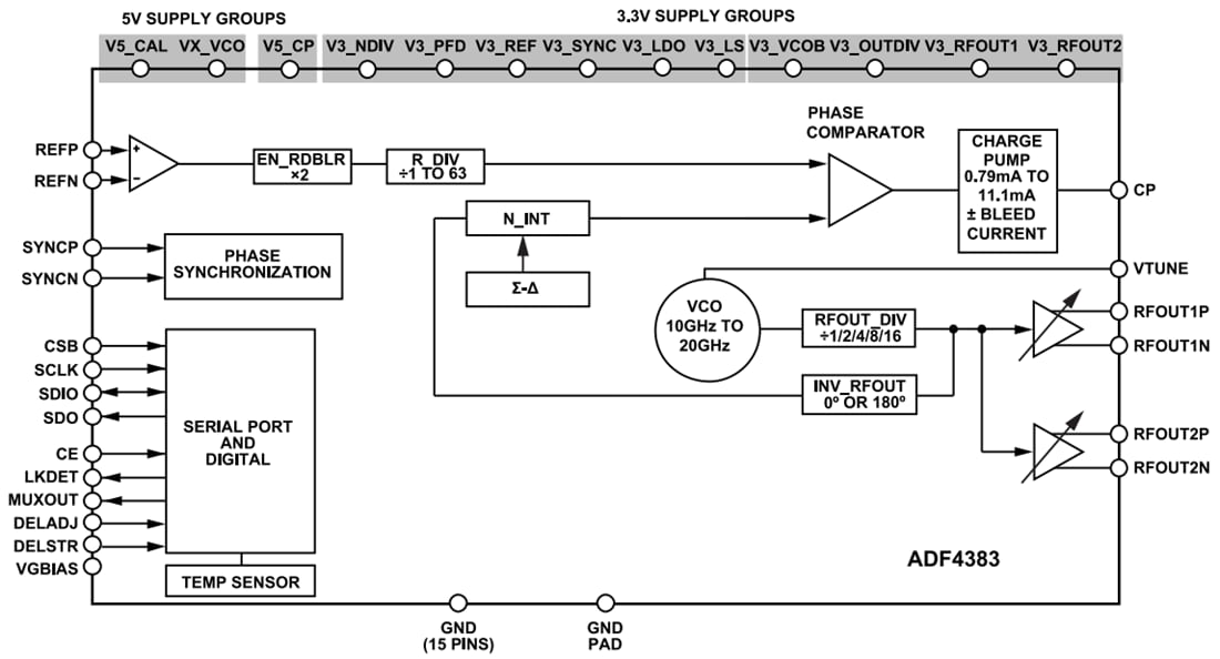
Analog Devices ADF4383框图的简单性缩短了开发时间。该器件具有简化的串行外设接口(SPI)寄存器映射、外部SYNC输入以及在整数和分数模式下可重复的多芯片对准功能。
特性
- 10GHz到20GHz基本VCO频率范围
- 与ADF4382相比,VCO相位噪声改善高达3dB
- 20GHz = 18fs时的集成RMS抖动(积分带宽:100Hz至100MHz)
- 20GHz = 31fs时的集成RMS抖动(ADC SNR方法)
- PLL规格
- 归一化带内相位噪声底(整数模式):-239dBc/Hz
- 归一化1/f相位噪声底:-287dBc/Hz
- 最大相位/频率检测器输入频率:625MHz
- 基准输入频率:4.5GHz
- 典型杂散fPFD :-90dBc
- 快速VCO校准时间:<2μs>2μs>
- VCO自动校准时间:<>
- 20GHz频率下的相位噪声底:-156dBc/Hz
- 参考输出延迟规格
- 传播延迟温度系数:0.06ps/°C
- 调整步长:<>
- 多芯片输出相位对齐
- 3.3V和5V电源
- ADIsimPLL™环路滤波器设计工具支持
- 7 mm × 7 mm,48端子LGA
- -40 °C 到 + +105 °C 工作温度
应用
- 高性能数据转换器时钟
- 无线基础设施(MC-GSM、5G、6G)
- 测试与测量
功能框图
发布日期: 2025-09-12
| 更新日期: 2025-10-01
