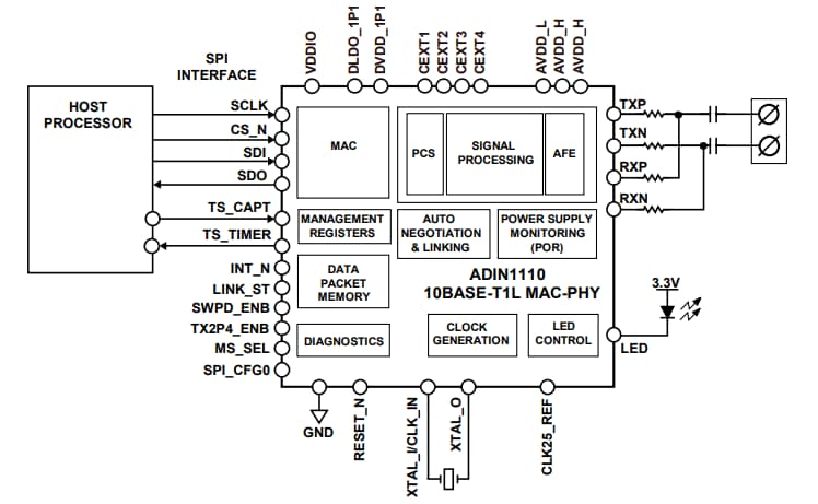
Analog Devices ADIN1110低功耗10BASE-T1L以太网MAC-PHY提供可编程发射电平、外部终端电阻和独立的Rx/Tx引脚,使器件能够用于本质安全应用。ADIN1110具有集成的电压电源监控和上电复位电路,可提高系统级稳健性。
以太网MAC-PHY设有4线SPI接口,用于MAC和主机处理器之间的通信。ADIN1110采用6mm x 6mm 40引脚封装。
特性
- 自动协商功能
- 支持本质安全应用
- 外部端接电阻器
- 单独的Rx/Tx引脚
- 集成MAC,带SPI接口
- SPI接口,支持10Mb/s全双工
- 支持开放联盟10BASE-T1x MAC-PHY串行
- 接口
- MDIO内存映射,可通过SPI访问
- 片上FIFO:20kB接收,8kB发射
- 切穿或储存和正向操作
- Rx高优先级和低优先级队列
- 支持IEEE 1588时间戳
- 统计计数器
- 支持16个MAC地址,用于帧过滤
- 符合10BASE-T1L IEEE® Std 802.3cg-2019TM标准
- 支持1.0V pk-pk和2.4V pk-pk发射电平
- 采用引脚搭接的非托管配置,包括:
- 主接口/从接口选择
- 发射幅度
- 25MHz晶体振荡器/25MHz外部时钟输入
- 1.8V/3.3V单电源运行(取决于模式)
- 电缆传输距离
- 1700+米,1.0V pk-pk
- 1700+米,2.4V pk-pk
- 低功耗 – 双电源42mW(典型值)
- 链路LED
- 小型封装:40引脚 (6mm x 6mm) LFCSP
- 宽温度范围:-40°C至+105°C
应用
- 过程控制
- 工厂自动化
- 楼宇自动化
功能框图
视频
发布日期: 2021-03-22
| 更新日期: 2025-03-04

