特性
- 5V单正极供电和IDQ 为90mA标称值
- RBIAS漏极电流调整引脚
- 集成温度传感器
- 集成启用和禁用功能
- 3GHz至4.5GHz的典型增益为20dB
- 35.5dBm OIP3,典型值为1GHz至4.5GHz
- 3GHz至6GHz的典型噪声系数为1dB
- 扩展工作温度范围:-55 °C至125 °C
- 符合RoHS规范,采用3mm x 3mm和16引线LFCSP封装
应用
- 电信
- 测试仪器仪表
- 军用
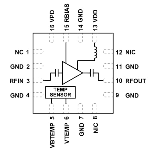
框图
发布日期: 2025-01-27
| 更新日期: 2025-02-25

