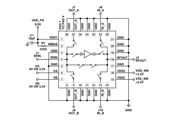
通过表面贴装技术 (sMT) 测试点连接器、VDD _ PA、GND、VDD _ SW、VSS _ SW、VA和VB访问ADI ADL8112-EVALZ电源和数字控制引脚。
ADL8112-EVALZ上的射频迹线是50Ω、接地、共面波导。封装接地引线和裸露焊盘直接连接到接地层。多个通孔连接顶部和底部接地层,侧重于接地焊盘下面的区域,为ADL8112-EVALZ提供足够的电气和热传导。
特性
- 4层、Rogers 4350B和Isola 370HR评估板
- 末端装接型2.92mm射频连接器
- 直通校准路径(未装配)
必要设备
- 射频信号发生器
- 射频频谱分析仪
- 射频网络分析仪
- 8.5V,300mA电源
- +3.3V和-3.3V、100mA电源
原理图
PCB布局
组装图纸(未安装J5、J6、J11和J12)
发布日期: 2023-06-08
| 更新日期: 2025-03-14

