Analog Devices Inc. ADM286xE隔离式RS-485收发器
Analog Devices ADM286xE隔离式RS-485收发器是一款5.7kVRMS 信号和电源隔离式RS-485收发器。该器件通过EN55032 B类标准的辐射发射测试,在2层印刷电路板(PCB)上具有裕度,在隔离电源和接地引脚上使用两个小型外部0402铁氧体。这些器件具有集成的低电磁干扰 (EMI) 隔离式直流-直流转换器,无需外部隔离电源。该隔离栅可按照系统级电磁兼容性 (EMC) 标准提供抑制。该系列隔离器器件在RS-485 A、B、Y和Z引脚上提供±12kV接触和±15kV空气IEC61000-4-2 ESD保护。这些器件还具有电缆反转引脚,允许用户快速校正A、B、Y和Z总线引脚上的反向电缆连接,同时保持完整的接收器故障安全性能。可提供限制压摆率的版本,它们优化用于低速长电缆传输,具有500kbps最大数据速率。提供半双工和全双工型号全双工通用IC支持驱动器和接收器的独立电缆反转,提高灵活性。
特性
- 5.7kVRMS 隔离式RS-485/RS-422收发器
- 低辐射、集成隔离式直流-直流转换器
- 通过EN55032 B类认证,在2层PCB上具有裕度
- 电缆反相智能功能可校正A、B、Y和Z总线引脚上的反向电缆连接,同时保持完整的接收器故障安全
- RS-485 A、B、Y和Z引脚提供ESD保护
- ≥±12kV IEC61000-4-2接触放电
- ≥±15kV IEC61000-4-2空气放电
- 高速25Mbps数据速率 (ADM2865E/ADM2867E)
- 用于EMI控制的低速500kbps数据速率 (ADM2861E/ADM2863E)
- 柔性电源
- 输入VCC 电源:3V至5.5V
- 逻辑VIO电源:1.7V至5.5V
- VSEL 引脚用于选择5V (VCC > 4.5 V) 或3.3VVISO 电源
- PROFIBUS兼容5VVISO
- 宽工作温度范围:-40 °C至+105 °C
- 高共模瞬态抑制:250kV/μs
- 短路、开路和浮动输入接收器故障安全
- 支持196总线节点(接收器输入阻抗:72 kΩ)
- 完全支持热插拔(无毛刺上电/掉电)
- CSA元件认可通知5A、DIN V VDE V 0884-11、UL 1577、CQC11-471543-2012、IEC 61010-1
- 28引线、小间距SOIC_W 封装 (10.15mm × 10.05mm),爬电距离和电气间隙>8.0mm
应用
- 采暖、通风和空调(HVAC)网络
- 工业现场总线
- 楼宇自动化
- 公用设施网络
- 能量计
视频
ADM2861E/ADM2865E 方框图
ADM2863E/ADM2867E框图
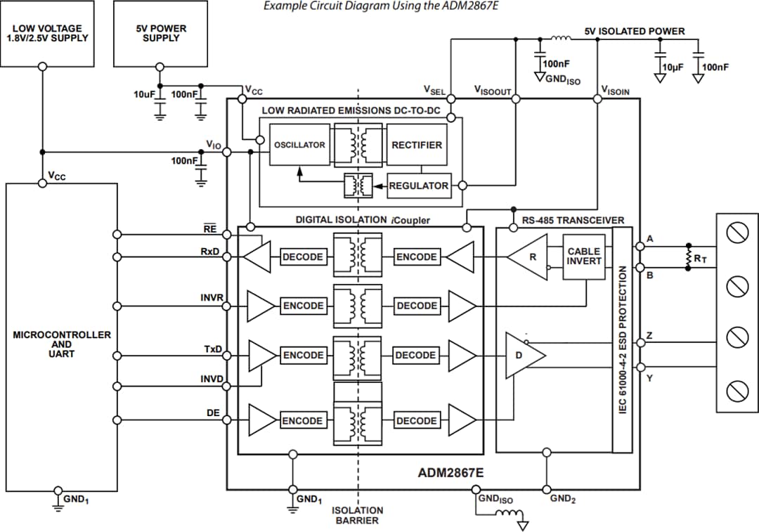
典型应用电路
发布日期: 2020-06-08
| 更新日期: 2025-03-04
