ADPA1122采用带散热器[LCC_HS]的18引脚、7mm × 7mm、陶瓷无铅芯片载体封装。该封装具有低热阻,并且与表面贴装制造技术兼容。
特性
- 内部匹配和交流耦合的20W氮化镓功率放大器
- 集成温度补偿射频功率检波器
- PIN = 22dBm时,POUT 为43.5dBm(9.6GHz至11GHz时的典型值)
- 小信号增益:31dB(9.6GHz至11GHz时的典型值)
- PIN =22dBm时的功率增益:从8.2GHz到11GHz时的典型功率增益为21.5dB
- 功率附加效率 (PAE):46%(典型值,9.6GHz至11GHz)
- 电源电压:28V(200mA,10%占空比)
- 18引脚7mm×7mm LCC_HS封装
应用
- 天气雷达
- 船用雷达
- 军用雷达
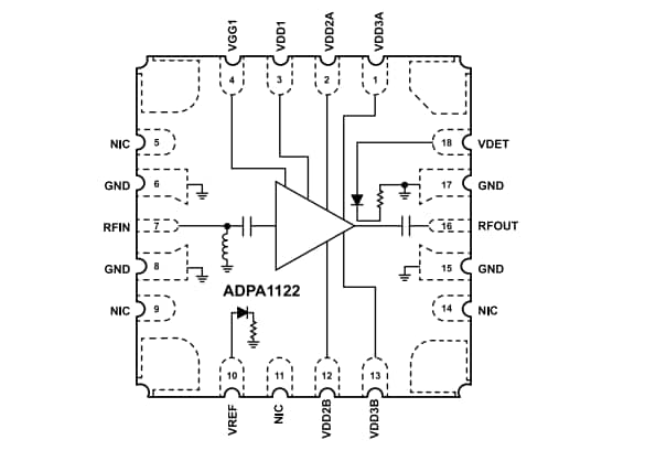
功能框图
发布日期: 2023-05-18
| 更新日期: 2023-05-30

