Analog Devices Inc. ADPD4200多模式传感器前端
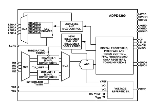
Analog Devices Inc. ADPD4200用作完整的多模式传感器前端,可以激励多达4个发光二极管(LED)。 该传感器前端还可测量多达4路独立电流输入的返回信号。ADPD4200传感器前端配有12次插槽,可实现每采样周期12次单独测量。该传感器包括灵活LED信号传输和同步检测控制电路。ADPD4200传感器前端采用1.8V模拟内核和1.8V或3.3V兼容数字输入/输出 (I/O)。该传感器采用双通道处理,具有同步采样、片上数字滤波、400mA总LED峰值驱动电流和512字节FIFO尺寸。ADPD4200传感器前端包括可穿戴健康和健身监视器、工业监控和家庭患者监护中的多种应用。特性
- 多模式模拟前端
- 4个输入通道具有多种工作模式:
- PPG、ECG
- EDA
- 阻抗
- 温度
- 可同步采样的双通道处理
- 12个可编程时隙,适用于同步传感器测量
- 灵活的输入多路复用,支持差分和单端传感器测量
- 支持SPI通信
- 尺寸:512字节FIFO
- 4个LED驱动器,可以同时被驱动
- 灵活采样速率:0.004Hz至9kHz(使用内部振荡器)
- 片上数字滤波
- 105dB信噪比(100kΩ TIA增益,100Hz ODR,80个脉冲,CPD= 70pF,0.5Hz至10Hz带宽)
- 高达1kHz AC环境光抑制:60dB
- 总LED峰值驱动电流:400mA
- 30μW系统总功耗
- 连续PPG测量(75dB SNR、25Hz ODR、100nA/mA CTR)
应用
- 可穿戴式健康和健身监视器:
- 心率监视器 (HRM)
- 心率变异度 (HRV)
- 压力和血压估算
- 血氧饱和度(SpO2)
- 水合
- 主体成分
- 工业监控:
- 一氧化碳(CO)
- 二氧化碳(CO2)
- 烟
- 气溶胶检测
- 家用患者监测
功能框图
发布日期: 2022-07-18
| 更新日期: 2022-10-10
