Analog Devices / Maxim Integrated ADPL12008降压转换器
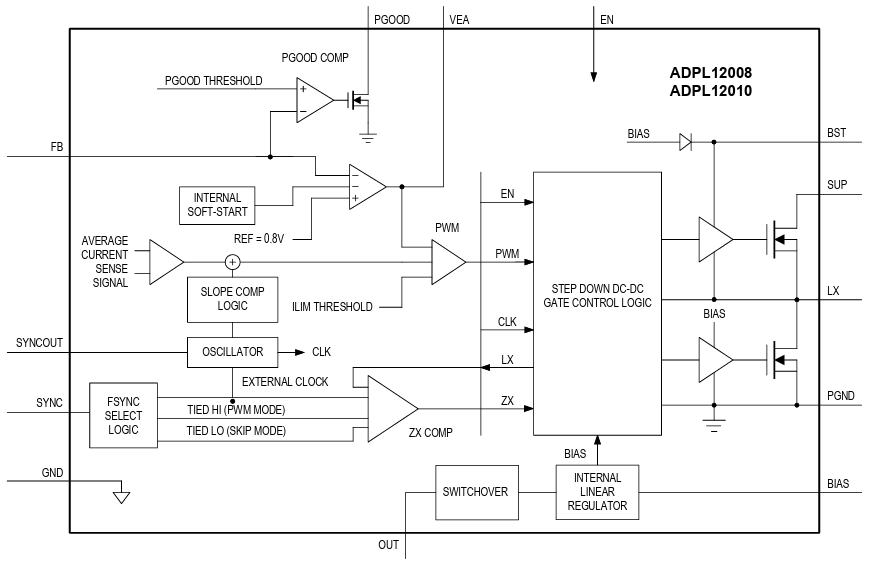
Analog Devices/Maxim Integrated ADPL12008降压转换器是与内部高端和低端同步的集成降压转换器开关。这些降压转换器设计输出电流高达8A/10A,输入电压范围为3V至20V。ADPL12008降压转换器可以在非常高的占空因数下以压差模式运行,使其成为工厂自动化应用的理想选择。这些ADPL12008 IC采用小型、3.5mmx3.75mm、17针倒装芯片四扁线无引线(FC2QFN)封装。ADPL12008降压转换器与ADPL12005/ADPL12006(5A至6A)系列设备兼容。这些降压转换器非常适合 工厂自动化、负载点、分布式直流电源系统、通信基础设施以及测试和测量。ADPL12008转换器提供可编程输出电压选项,其高切换频率为1.5MHz,其400kHz选项允许使用小型外部组件并减少输出纹波。这些降压转换器的工作结温范围为-40°C至150°C。
特性
- 体积小、功率高的DC/DC转换器解决方案:
- 工作VIN范围:3V至 20V
- 集成FET的同步DC-DC转换器
- 最大输出电流:8A/10A
- 固定频率选项:400 kHz和1.5 MHz
- 固定软启动时间:
- 2.5 ms (400 kHz)
- 3.5 ms (1.5 MHz)
- 最低导通时间:36 ns
- 可编程输出电压:
- 0.8 V至10 V(400 kHz型)
- 0.8 V至6 V(1.5 MHz型)
- 对称且平衡的SUP和PGND引脚分配布局,可实现更好的电磁干扰(EMI)性能
- 散热增强型3.5 mm x 3.75 mm、17引脚FC2QFN封装
- 在所有负载范围内均具有高效率:
- 跳跃模式下的静态电流为20μA
- 在12VIN/3.3VOUT/400kHz时效率高达95.6%
- 在12VIN/3.3VOUT/1.5MHz时效率高达93.9%
- 双相运行,负载能力高达20A
- 频率同步输入/输出
- 控制器与目标设备之间相位差180°
- 动态均流
- 强制PWM和跳跃模式操作
- 低压差工作
- 电源良好指示器
- 过热和短路保护
- 工作结温范围:-40 °C至150 °C
- 可扩展电源解决方案
- 与ADPL12005/ADPL12006兼容的占位面积
应用
- 工厂自动化
- 负载点
- 分布式直流电源系统
- 通信基础设施
- 测试与测量
方框图
引脚配置
发布日期: 2025-09-15
| 更新日期: 2025-10-02
