Analog Devices Inc. ADRF5023单刀双掷 (SPDT) 硅开关
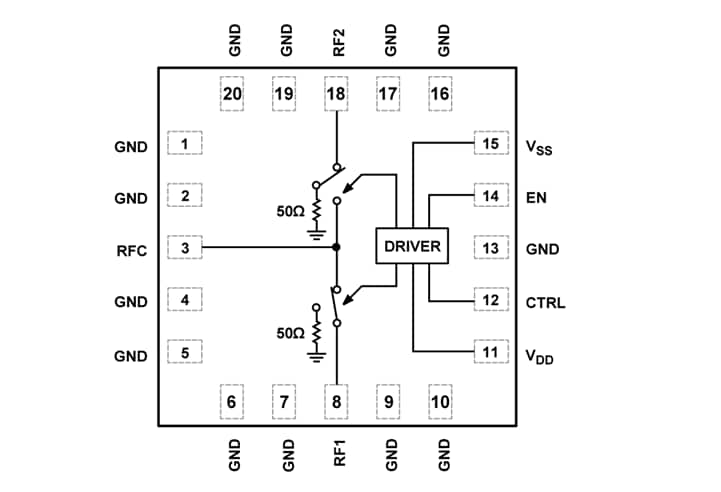
Analog Devices Inc. ADRF5023单刀双掷 (SPDT) 硅开关是采用硅工艺制造的非反射式单刀双掷 (SPDT) 开关。ADRF5023具有9kHz至45GHz工作频率范围,1.7dB插入损耗典型值和42dB隔离。该开关具有30dBm(直通路径)、24dBm(端接路径)和30dBm(射频公共端口热切换)的射频输入功率处理能力。该器件具有3.3V正电源和-3.3V负电源。ADRF5023还采用功能互补的与金属氧化物半导体 (CMOS) /低压晶体管晶体管逻辑 (LVTTL) 兼容的控件。ADI ADRF5023硅SPDT开关还采用单正电源电压 (VDD) 工作,同时负电源电压 (VSS) 连接到接地。在这种工作条件下保持小信号性能,同时降低开关特性、线性度和功率处理性能。
ADRF502320引脚、3mm × 3mm、符合RoHS指令的焊盘栅格阵列 (LGA) 封装,工作温度范围为-40°C至+105°C。
特性
- 9kHz至45GHz超宽带频率范围
- 非反射式设计
- 低插入损耗
- 0.9dB(18GHz时典型值)
- 1.6dB(40GHz时典型值)
- 1.7dB(45GHz时典型值)
- 0TCASE = +85°C时具有高功率处理能力
- 30dB通过路径
- 24dBm(终止路径)
- 30dBm热开关(RFC端口)
- 42dB高隔离(45GHz时典型值)
- 高输入线性度
- 0.1dB功率压缩 (P0.1dB) :31dBm
- 三阶交调截点 (IP3) :53dBm
- 射频稳定时间:3.5μs(0.1dB最终射频输出)
- 无低频杂散信号
- 全部关断状态控制
- CMOS/LVTTL兼容负控制接口
- 20引脚3.0mm x 3.0mm LGA封装
应用
- 测试和仪器仪表
- 5G毫米波蜂窝基础设施
- 军用无线电、雷达和电子对抗 (ECM)
- 微波无线电和甚小孔径终端 (VSAT)
- 工业扫描器
其他资源
框图
发布日期: 2023-02-22
| 更新日期: 2023-02-27
