ADRF5715硅衰减器兼容互补金属氧化物半导体 (CMOS) 和低压晶体管-晶体管逻辑 (LVTTL)。这些衰减器采用12端子、2.25mm x 2.25mm LGA封装,并符合RoHS指令。
特性
- 1 MHz至30 GHz超宽带频率范围
- 单步衰减:16dB
- 低插入损耗:
- 0.6 dB 下 8 GHz
- 0.8 dB 下 18 GHz
- 1.15 dB 下 30 GHz
- 衰减精度:
- 高达18GHz下的典型值为±0.15dB
- 18GHz至30GHz下的典型值为±0.15dB
- 高输入线性度:
- P0.1dB插入损耗状态:典型值33dBm
- P0.1dB 16dB衰减状态:典型值30dBm
- IP3插入损耗状态:典型值51dBm
- IP3 16dB衰减状态:典型值49dBm
- 高射频功率处理能力:
- ATTIN和ATTOUT的输入
- 稳态平均值:30dBm(典型值)
- 稳态峰值:33dBm(典型值)
- ATTIN和ATTOUT的输入
- RF幅度稳定时间(0.1dB的最终RFOUT):6.5μs(典型值)
- 支持单电源运行
- 相对相位中的紧凑分布
- 无低频杂散信号
- 兼容 CMOS/LVTTL
- 12引脚、2.25mm x 2.25mm焊盘栅格阵列 [LGA] 封装
应用
- 工业扫描器
- 测试与检测仪器
- 5 G毫米波蜂窝基础设施
- 军用无线电和雷达
- 电子对抗 (ECM)
- 微波无线电
- 甚小孔径终端 (VSAT)
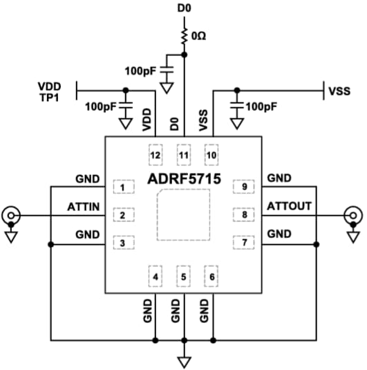
简化应用电路
功能框图
发布日期: 2024-01-31
| 更新日期: 2024-03-06

