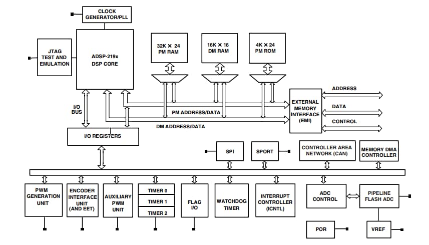
ADI ADSP-21992通过提供32K字程序存储器和16K字数据存储器RAM,进一步扩展了ADSP-2199x混合信号DSP系列的功能。此外,ADSP-21992还设有片上CAN通信端口,可提供完整的CAN 2.0B支持,设有16个可配置的邮箱和单独的验收滤波器。
特性
- ADSP-2199x 16位定点DSP内核,具有高达160MIPS的持续性能
- 48K字片上RAM、32K字片上24位程序RAM和16K字片上16位数据RAM
- 外置存储器接口
- 专用内存DMA控制器,用于内部/外部存储器之间的数据/指令传输
- 可编程PLL和灵活的时钟生成电路支持低速输入时钟的全速运行
- IEEE JTAG标准1149.1测试访问端口支持片上仿真和系统调试
- 8通道、14位模数转换器系统,采样率高达20MSPS(160MHz内核时钟速率下)
- 基于3相16位中心的PWM生成单元,12.5ns内核时钟 (CCLK) 速率下的分辨率为160MHz
- 专用32位编码器接口单元,带配套编码器事件计时器
- 双路16位辅助PWM输出
- 16个通用标志I/O引脚
- 3个可编程32位间隔定时器
- SPI通信端口,支持主或从操作
- 同步串行通信端口 (SPORT),能够进行软件UART仿真
- 控制器局域网 (CAN) 模块,完全符合V2.0B标准
- 集成看门狗定时器
- 具有软件优先级控制的专用外设中断控制器
- 多种启动模式
- 精密1.0V电压基准
- 集成上电复位 (POR) 发生器
- 灵活的电源管理,可选择掉电和空闲模式
- 内部工作电压为2.5V,I/O电压为3.3V
- 工作温度范围:-40°C至+85°C和-40°C至+125°C
功能框图
发布日期: 2024-07-30
| 更新日期: 2024-08-26

