Analog Devices Inc. 亚德诺半导体 ADV7181D 10 位、SDTV/HDTV 视频解码器 & RGB 图形数字化仪
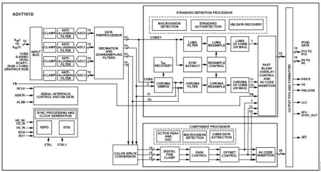
亚德诺半导体 ADV7181D 10 位、SDTV/HDTV 视频解码器是一款高质量、单芯片、多格式视频解码器和图形数字化仪。ADV7181D 主要包含两个处理部分。第一部分为标清处理器(SDP),支持将复合或 S 视频形式的 PAL、NTSC 和 SECAM 标准信号转换成 ITU-R BT.656 数字格式。第二部分为分量处理器(CP),可将分量 YPrPb和RGB 视频信号解码为数字 YCrCb 或 RGB 像素输出流。支持的分量视频包括 525i、625i、525p、625p、720p、1080i 等标准,以及许多其它高清和 SMPTE 标准。此外,ADV7181D 也支持图形数字化,能够对 VGA 至 XGA 速率的 RGB 图形信号进行数字化处理,将其转换为数字 DDR RGB 或 YCrCb 像素输出流。ADV7181D 能够同时处理 CVBS 和标清 RGB 信号,从而启动 SCART 和叠加功能。这些信号的混合由快速消隐(FB)引脚控制。The second section is the component processor (CP), which supports the decoding of a component RGB/YPrPb video signal into a digital YCrCb or RGB pixel output stream. Support for component video includes standards such as 525i, 625i, 525p, 625p, 720p, 1080i, and many other HD and SMPTE standards. In addition, ADV7181D is also capable of digitizing RGB graphics signals from VGA to XGA rates and converting them into a digital DDR RGB or YCrCb pixel output stream. SCART and overlay functionality are enabled by the ability of the ADV7181D to simultaneously process CVBS and standard definition RGB signals. The mixing of these signals is controlled by the fast blank (FB) pin.
特性
- Qualified for automotive applications
- Four 10-bit ADCs sampling up to 75MHz
- 10 analog input channels
- SCART fast blank support
- Internal antialias filters
- NTSC, PAL, and SECAM color standards support
- 525p/625p component progressive scan support
- 720p/1080i component HDTV support
- Digitizes RGB graphics up to 1024 × 768 at 70Hz (XGA)
- 3 × 3 color space conversion matrix
- −40°C to +85°C Industrial temperature range
应用
- Automotive entertainment
- HDTVs
- LCD/DLP® projectors
- HDTV STBs with PVR
- DVD recorders with progressive scan input support
- AVR receivers
Block Diagram
发布日期: 2014-11-18
| 更新日期: 2022-03-11
