Analog Devices Inc. DC3008A LT8386演示电路
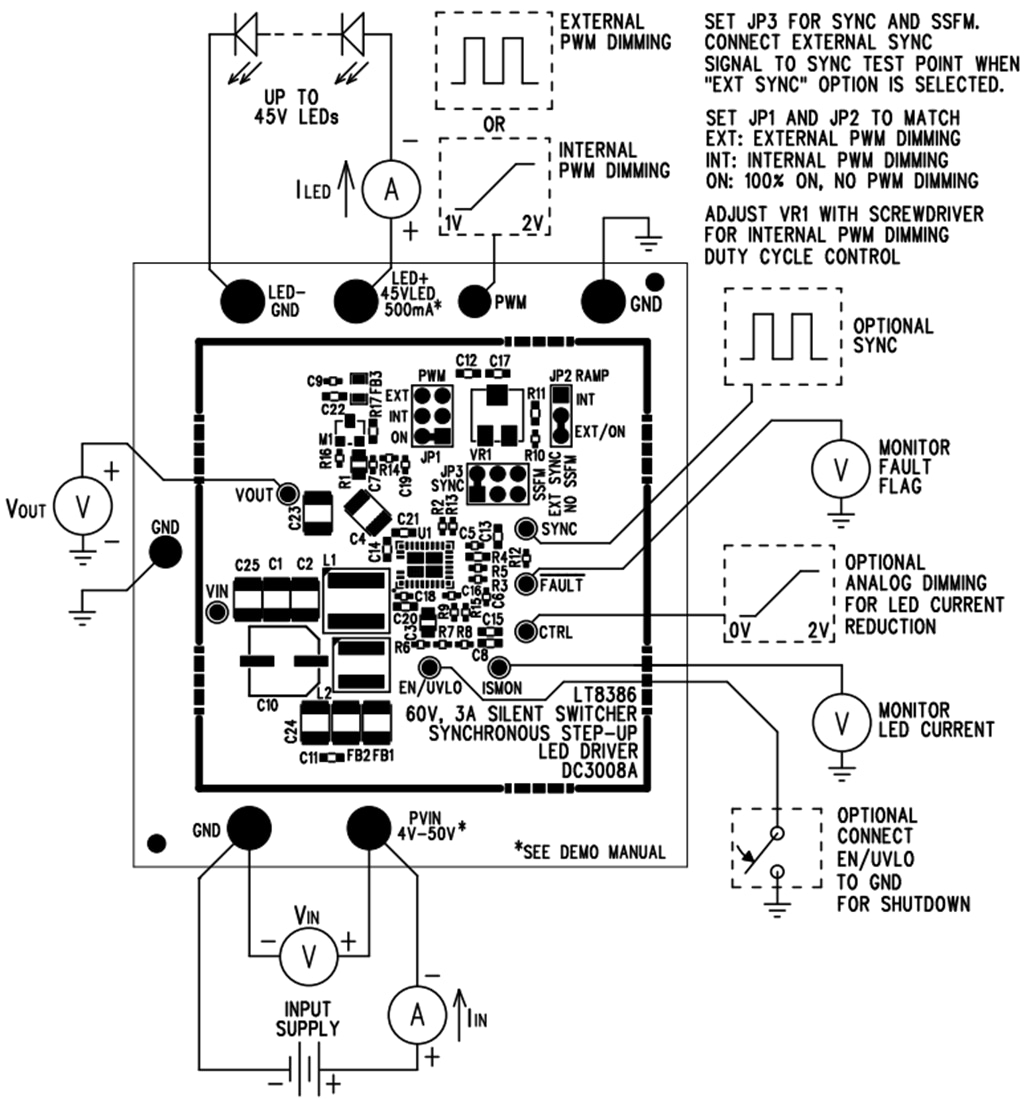
Analog Devices DC3008A LT8386演示电路是一款60V 3A Silent Switcher同步升压LED驱动器,设有LT8386。当VIN介于4V和40V之间时,它驱动一串LED,电流为500mA至45V。它的运行电压低至VIN,降低了ILED,并可承受高达50V的VIN,但此应用的过压闭锁 (OVLO) 设置为45V。DC3008A以340kHz开关频率运行。扩频调制 (SSFM) 可通过简单的跳线打开,从而降低EMI。Analog Devices DC3008A具有低EMI特性,包括经过优化的布局、SSFM和输入EMI滤波器。它具有开路和短路LED保护功能,并报告故障。LT8386升压转换器的输入电压范围为4V至56V。其内部同步3.3A 60V开关支持输出上高达52V的LED(带调整FB电阻器),在开路LED事件时提供过压保护和过冲保护。它具有200kHz至2MHz可调开关频率。它可以同步到外部源或通过SSFM进行编程,以实现低EMI。PWMTG高侧PWM MOSFET驱动器具有短路保护和多功能性。LT8386可配置为升压、升压降压或降压模式LED驱动器,并保持低EMI、PWM 调光和故障诊断功能。
LT8386可通过外部PWM信号或内部生成的PWM信号进行PWM调光。DC3008A设有跳线,可设置为在内部生成的PWM信号、外部生成的PWM 信号和无 PWM 信号(100% 打开)之间切换。它可以通过其控制引脚 (CTRL) 上的控制电压进行模拟调光。当通过PWM调光和SSFM运行时,SSFM与PWM信号保持一致,实现无闪烁运行。
小型陶瓷输入和输出电容器用于节省空间,降低成本。该板设计采用VOUT引脚两侧的小型高频电容器,减少辐射。开路LED过压保护使用IC的恒压调节环路将输出调节到57V左右(如果LED灯串打开)。可通过ISMON测试点监控输出电流。欠压和过压闭锁可通过几个简单的电阻器选择在该电路上调整。DC3008A的输入上设有EMI滤波器。
测试设置
发布日期: 2021-07-09
| 更新日期: 2022-03-11
