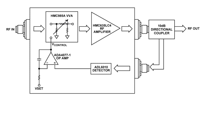
The CN0390 Circuit integrates the ADL6010 Envelope Detector, ADA4077-1 High Precision Amplifier, HMC985A GaAs Voltage Variable Attenuator, and HMC635 GaAs RF Amplifier. The ACG figure of merit is between 20GHz and 30GHz. Analog Devices Inc. EVAL-CN0390-EB1Z Circuit Evaluation Board is ideal for microwave instrumentation and radar-based measurement systems.
特性
- 20GHz to 37.5GHz RF automatic gain control
- Wide input amplitude range
- Low phase noise
Block Diagram
发布日期: 2017-07-11
| 更新日期: 2022-04-18

