特性
- 支持高达9GHz射频信号合成和脉冲调制
- 高动态范围和信号重建带宽
- 完全支持零中频 (IF) 和其他直流耦合应用
- 出色的光谱平坦度和输出回波损耗
- 板载自由运行122.88MHz 精密恒温晶体振荡器 (OCXO)
- 支持本地触摸屏(TFT LCD屏幕)和HDMI显示器
- 具有低输出纹波和低输出电容
- 可用 SPI、USB和以太网通信接口
- 无需大块散热片
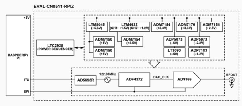
电路板概述
框图
发布日期: 2022-07-14
| 更新日期: 2022-09-01

