Analog Devices MAX20815采用内部1.8V LDO输出为栅极驱动器 (VCC) 和内部电路 (AVDD) 供电。该器件还具有可选的LDO输入引脚 (LDOIN),支持从2.5V至5.5V偏置输入电源连接,以优化效率。该IC提供多种保护,确保设计稳健,包括正负过流保护、输出过压保护和过热保护。该器件采用4.3mm x 6.55mm FC2QFN封装,支持-40°C至+125°C工作结温范围。MAX20815的占位尺寸与MAX20810和MAX20830兼容。
特性
- 功率密度高,元件数量少
- 紧凑的4.3mm x 6.55mm、16引脚FC2QFN封装
- 内部补偿
- 单电源运行,集成用于生成偏置的LDO
- 宽工作范围
- 2.7 V 到 16 V 的输入电压范围
- 输出电压范围:0.4 V至5.8 V
- 可配置开关频率范围:500kHz至2MHz
- -40 °C至+125 °C结温范围
- 优化的性能和效率
- VDDH = 12V、VOUT = 1.8V时,峰值效率为93.8%
- 通过可选的外部偏置输入电源实现高效率
- AMS可改善负载瞬态响应
- 差分遥感
- PMBus接口
- 自适应电压调节参考范围:0.4V至0.8V
- PMBus遥测输出电流、输出电压、输入电压和结温
应用
- 数据中心电源
- 通信设备
- 网络设备
- 服务器和存储
- 负载点 (POL) 稳压器
简化应用电路
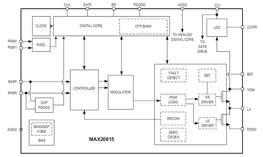
方框图
相关开发工具
发布日期: 2024-05-02
| 更新日期: 2024-05-14

