Analog Devices Inc. MAX22194四路工业灌/拉数字输入
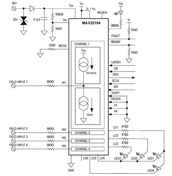
Analog Devices Inc. MAX22194四路工业灌/拉数字输入将四个工业24V或TTL电平输入转换为逻辑电平输出。 该器件设有串行接口,可通过SPI进行配置和读取串行数据。输入通道可单独配置为灌电流(P型)或拉电流(N型)输入。每个数字输入上的电流限制器均可最大限度地降低功耗,同时确保符合IEC 61131-2标准。通过单个电流设置电阻器,输入可单独配置为1/3型、2型、TTL或HTL(高阻抗24V电平)。可以单独禁用电流阱或电流源。每个输入通道均有一个可编程毛刺/去抖滤波器。Analog Devices MAX22194可由8V至36V现场电源供电,用于灌/拉操作,且集成有5V线性稳压器,可提供高达20mA的负载电流。特性
- 软件可配置
- 4个输入可单独配置为灌电流或拉电流
- 1/3型、2型、TTL和Hi-Z(HTL)模式
- 通过电阻器,可在0.5mA至6.75mA的宽范围内精确设置输入电流
- 可编程毛刺滤波器
- 丰富的诊断功能(电源电压监控、温度警报、PCB故障警报、热关断)
- 可寻址或菊花链SPI可减少隔离通道
- 低功耗
- 由8V至36V现场电源供电
- 低电源电流:2mA(最大值)
- 稳健的解决方案
- 符合IEC 61000-4-2 ESD要求,气隙放电±15kV,接触放电±8kV,现场输入具有最小680Ω脉冲电阻
- 符合IEC 61000-4-5要求,浪涌±1.2kV/42Ω,现场输入具有最小680Ω脉冲电阻
- SPI上CRC错误检测
- 工作温度范围:-40 °C至+125 °C
- 紧凑型解决方案
- 集成5V、20mA线性稳压器
- 2.5V至5.5V逻辑接口
- LED驱动器矩阵或GPO输出
- 5mm x 5mm 32引脚TQFN封装
应用
- 可编程逻辑控制器
- 工厂自动化
- 过程控制
简化应用方框图
功能框图
发布日期: 2024-09-10
| 更新日期: 2025-01-29
