特性
- 在电池输入下运行至3V,同时保持5V栅极驱动器
- 宽升压脉冲占空比范围
- 升压或SEPIC电流模式直流/直流控制器
- 工作频率范围:400kHz至2.2MHz
- 扩频选项
- 可以与外部时钟同步
- LED灌电流
- 每串输出电流高达220mA
- 低OUT_稳压
- 可选通道间相移
- 200Hz时调光率为16667:1
- 外部或内部(I2C)调光
- >16667:1调光率,采用混合调光
- 集成电荷泵,用以驱动一个串行nMOSFET
- 使用外部NTC温度传感器进行温度折返
- 仅使用EN引脚,无需I2C干预即可快速启动
- FLTB输出提供诊断信息:
- LED短路或开路
- 任何OUT_引脚接地短路
- IREF/RT电阻器超出范围
- 过热警告/关断
- 升压输出欠压/过电压
- V18内部电源超出范围
- 输入端过电流(使用外部检测电阻器在升压输入端进行测量)
- I2C接口
- 紧凑型TQFN封装
应用
- 汽车仪器组
- 汽车中央信息显示屏
- 汽车平视显示器
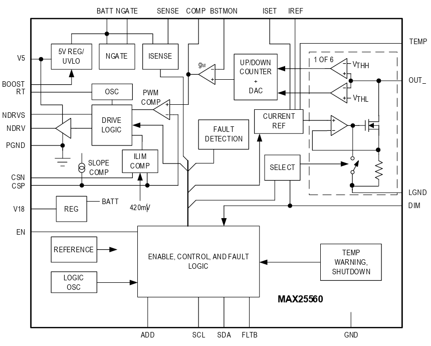
方框图
发布日期: 2025-09-16
| 更新日期: 2025-10-13

