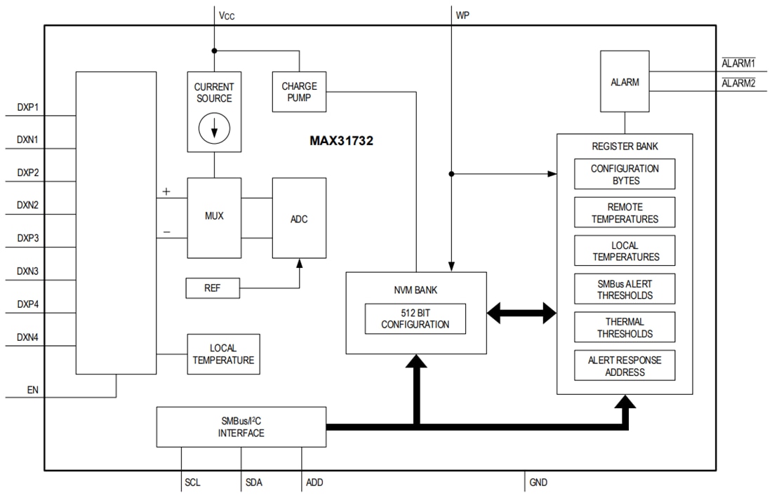
MAX31732提供低电平有效警报输出和两个开漏ALARM1和ALARM2。当通道测量的温度超过第一个过热/欠温阈值水平时,ALARM1被置为低电平,在相应的热状态寄存器中置位状态位。当通道的测量温度超过第二个过热/欠温阈值水平时,ALARM2被置为低电平,在相应的热状态寄存器中置位状态位。最高温度寄存器允许控制器获得最热通道的温度。
512位非易失性存储器(NVM)允许MAX31732在上电期间对配置寄存器进行编程,无需软件/固件干预。NVM还可捕获每个远程和本地通道的故障温度,以便日后分析。
两线串行接口接受SMBus协议(读、写、发送和接收字节),用于读取温度数据和对温度阈值进行编程。地址选择输入(ADD)可以连接到接地或接地电阻器,用于选择八个可用目标地址中的任何一个。
该器件的额定工作温度范围为-40°C至+125°C,输入电源电压范围为3.0V至3.6V。Analog Devices MAX31732采用24引脚、4mmx4mm TQFN封装。
特性
- 一个本地和四个远程温度传感通道
- 远程温度测量精度:±1°C(-40°C至+125°C)
- 远程温度测量范围:-64°C至+150°C
- 针对远程通道的电阻抵消高达300Ω
- 低β晶体管补偿
- 两个可编程警报温度阈值
- 12位、0.0625°C分辨率
- 八个可选目标地址
- 灵活的I2C/SMBus接口,可连接各种微控制器
- 理想系数高达1.311
- NVM便于配置和故障记录
应用
- 片上CPU、ASIC、SOC或FPGA二极管或远程分立二极管的温度测量
- 工业-热管理
功能图
发布日期: 2024-08-09
| 更新日期: 2024-09-04

