Analog Devices / Maxim Integrated DS1775R 数字温度计和温度监控器
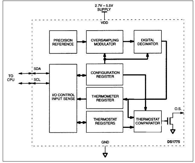
Maxim Integrated DS1775R 数字温度计和温度监控器采用小巧的SOT-23封装,在3V至5V的电源范围内,精度可保持在 ±2℃。面板可在9至12位分辨率之间进行调节。DS1775R可在空间和重量受限的应用场合中,提供高质量的温度管理。Maxim DS1775R 测量温度范围为-55℃至+125℃。它可通过以下5个主要部件自动进行温度控制:1个数字温度传感器、1个模数转换器、1个数据寄存器、1个恒温比较器和1个二线系统接口。DS1775R适用于电脑、服务器、工作站的磁盘驱动器、环境和生物医学诊断设备以及手机等手持设备,或其他热敏电子控制系统等场合。特性
- Temperature measurements require no external components
- Measures temperatures from -55°C to +125°C
- ±2°C thermometer accuracy
- Thermometer resolution is configurable from 9 bits to 12 bits (0.5°C to 0.0625°C resolution)
- User-definable thermostat settings
- Data is read from/written to through a 2-wire serial interface
- 2.7V to 5.5V wide power-supply range
- Software compatible with DS75 2-wire thermal watchdog in thermometer mode
- Space-conscious 5-Pin SOT23 package with low thermal time constant
应用
- Computer graphics systems
- Industrial instruments
- Notebook computers
- Portable terminals
- Storage area networks (SANs)
Block Diagram
发布日期: 2013-07-17
| 更新日期: 2023-08-31
