Analog Devices / Maxim Integrated DS28C40 DeepCover汽车I2C验证器
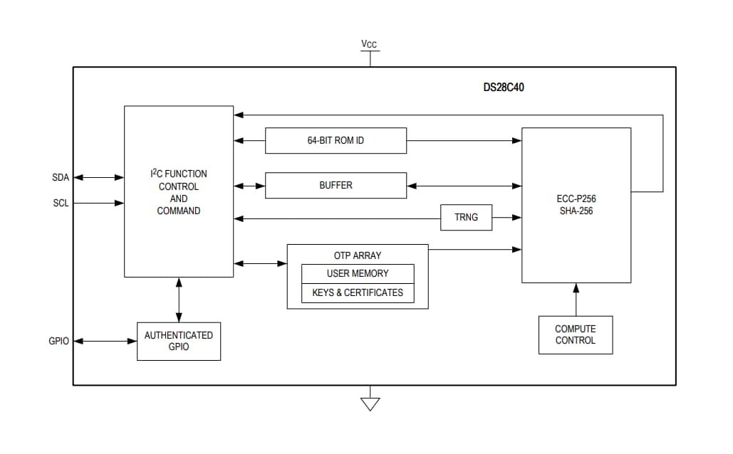
Maxim Integrated DS28C40 DeepCover汽车I2C安全认证平台提供从集成对称 (ECC-P256) 和不对称 (SHA-256) 安全功能中演化而来的一整套核心加密工具。该器件集成了FIPS/NIST真随机数生成器 (TRNG)、6KB一次性可编程 (OTP) 内存(用于用户数据、密钥和证书)、一个可配置的GPIO和一个独特的64位ROM识别号 (ROM ID)。ECC公钥/私钥功能采用NIST定义的P-256曲线,包括FIPS 186-4兼容ECDSA签名生成和认证,支持双向不对称密钥认证模式。SHA-256密钥功能符合FIPS 180标准,既可灵活地配合ECDSA操作使用,也可独立用于众多HMAC功能。GPIO引脚可在命令控制下运行,包括可置配性支持经过验证和未经过验证操作。这包括ECDSAbased加密稳健模式,支持安全启动主机处理器。DeepCover®嵌入式安全解决方案采用多重先进的安全机制保护敏感数据,以提供最高等级的密钥存储安全保护。为防止器件级安全攻击,实施了入侵和非入侵反制措施,包括有源芯片屏蔽、密钥存储器加密以及基于算法的方法。
特性
- ECC-P256计算引擎
- FIPS 186 ECDSA P256签名生成和认证
- 用于建立会话密钥的ECDH密钥交换
- 对可配置存储器的ECDSA认证读写
- SHA-256计算引擎
- FIPS 198 HMAC,用于双向验证
- 通过ECDH已有密钥实现对可配置存储器的SHA-256一次性密码本加密读写
- 一个带有可选认证控制的GPIO引脚
- 漏极开路,4mA/0.4V
- 可选SHA-256或ECDSA安全认证开/关和状态读取
- 可选ECDSA证书验证以设置在多块散列算法后开/关,从而实现安全启动
- TRNG与符合NIST SP 800-90B标准的熵源,具有读取功能
- 可选芯片生成私人/公共密钥对,用于ECC算法
- 6Kb一次性可编程 (OTP),用于用户数据、密钥和证书
- 唯一且不可改变的工厂编程64位标识号 (ROM ID)
- 用于加密和密钥操作的可选输入数据元件
- I2C通信,速度高达1MHz
- 3.3V ±10%,工作温度范围:-40°C至+125°C
- 10引脚、3mm x 4mm TDFN封装
- AEC-Q100 1级
应用
- 汽车安全认证
- 鉴定和校准汽车零件/工具/配件
- 物联网节点加密保护
- 附件和外设的安全认证
- 主机控制器加密密钥的安全存储
- 固件和/或系统参数的安全启动或下载
视频
简化框图
Typical Application Circuit
Additional Resources
发布日期: 2019-07-23
| 更新日期: 2025-08-14
