Analog Devices / Maxim Integrated DS28C50 DeepCover® I2C安全认证器
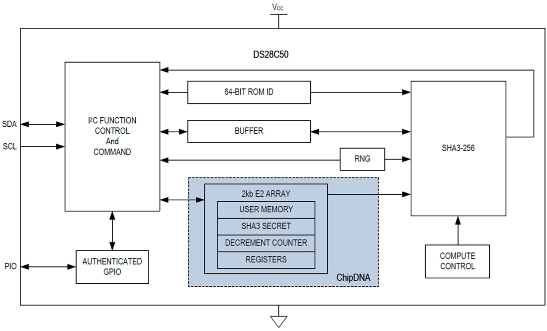
Maxim DS28C50 DeepCover® I2C安全认证器将符合FIPS202标准的安全散列算法 (SHA-3) 质询和响应验证与Maxim获得专利的ChipDNA™技术相结合。该技术提供物理不可克隆功能 (PUF),可提供经济高效的解决方案,针对安全攻击提供终极防护。ChipDNA实施方案可采用晶圆制造过程中自然生成的半导体器件特性的随机变量。ChipDNA电路会生成独特的输出值,该输出值可在整个时间、温度和工作电压范围内重复。如果尝试探测或观察ChipDNA操作,则会修改基础电路特性,从而阻止找出芯片加密功能所使用的唯一值。DS28C50采用ChipDNA输出作为密钥内容,以加密方式保护在设备上存储的所有数据。凭借ChipDNA功能,该器件提供了一组从集成块派生的核心加密工具。这些块包括SHA-3引擎、符合FIPS/NIST标准的真随机数发生器 (TRNG)、2Kb安全EEPROM、只减计数器以及唯一的64位ROM识别码 (ROM ID)。唯一ROM ID用作加密操作的基本输入参数,并用作应用程序内的电子序列号。DS28C50通过I2C网络进行通信。
特性
- 针对安全攻击提供强有力的防御
- 获得专利的物理不可克隆功能可保护设备数据
- 主动监控的芯片屏蔽可检测以及响应入侵尝试
- 所有存储的数据均经过加密处理,以免遭到窥探
- 高效的安全散列算法可验证外设
- 符合FIPS 202标准的SHA-3算法,用于质询/响应认证
- 符合FIPS 198标准的密钥哈希消息认证码 (HMAC)
- TRNG与符合NIST SP 800-90B标准的熵源
- 借助补充特性,可轻松集成到终端应用中
- 17位一次性可设置、非易失性只减计数器,具有认证读取功能
- 一个带有可选认证控制的GPIO引脚
- 2Kb EEPROM,用于用户数据、密钥和控制寄存器
- 唯一且不可改变的工厂编程64位标识号 (ROM ID)
- 3.3V ±10%,工作温度范围:-40°C至+85°C
- 6引脚TDFN-EP封装 (3mm x 3mm)
- I2C通信,速度高达1MHz
应用
- 医疗传感器和工具认证
- 有限使用耗材的安全管理
- 物联网节点加密保护
- 附件和外设安全认证
- 打印机墨盒识别和认证
框图
发布日期: 2019-11-13
| 更新日期: 2023-05-04
