Analog Devices / Maxim Integrated DS28E83 DeepCover 1-Wire认证器
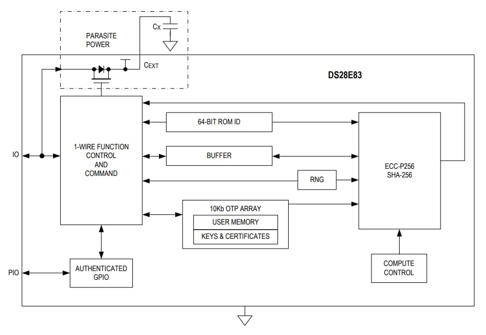
Maxim Integrated DS28E83 DeepCover 1-Wire认证器是一款防辐射安全认证器,提供了一系列重要的加密工具。这些工具由集成非对称 (ECC-P256) 和对称 (SHA-256) 安全功能演化而来。该器件集成有一个兼容FIPS的真随机数发生器 (TRNG)、10Kb的安全OTP、一个可配置的GPIO以及一个唯一的64位ROM标识号 (ROM ID)。ECC公开/私有密钥能力可在NIST定义的P-256曲线下工作,并包括FIPS 186兼容ECDSA签名生成和认证,以支持双向不对称密钥认证模型。SHA-256密钥能力符合FIPS 180标准,既可灵活地配合ECDSA操作使用,也可独立用于众多HMAC功能。特性
- 高耐辐射能力允许用户在医疗灭菌之前进行编程制造或校准数据
- 承受高达75kGy(千戈瑞)辐射
- 一次性可编程 (OTP)、10kb的用户数据、密钥和证书
- ECC-P256计算引擎
- FIPS 186 ECDSA P256签名和认证
- 用于建立会话密钥的ECDH密钥交换
- 对可配置存储器的ECDSA认证读写
- SHA-256计算引擎
- 用于安全下载/引导的FIPS 180 MAC
- 用于双向身份验证和可选GPIO控制的FIPS 198 HMAC
- 通过ECDH已有密钥实现对可配置存储器的SHA-256 OTP(一次性密码本)加密读写
- 对1-Wire IO引脚的±8kV HBM ESD保护
- 6引脚3x3mm TDFN
- 一个带有可选认证控制的GPIO引脚
- 漏极开路,4mA/0.4V
- 可选SHA-256或ECDSA认证开/关和状态读取
- 可选的ECDSA证书,可在多块散列算法后设置开/关,从而实现安全下载
- TRNG与符合NIST SP 800-90B标准的熵源,具有读取功能
- 用于ECC操作的可选芯片生成Pr/Pu密钥对或用于SHA256功能的密钥
- 唯一且不可更改的工厂编程64位识别码 (ROM ID)
- 用于密码和密钥操作的可选输入数据元件
- 高级1-Wire协议,可将接口减小为单触点
- 工作温度范围:0°C至+50°C(3.3V ±10%时)
应用
- 医疗耗材安全认证
- 医疗工具/附件的鉴定和校准
- 附件和外设安全认证
- 主机控制器加密密钥的安全存储
- 固件和/或系统参数的安全启动或下载
框图
发布日期: 2018-06-21
| 更新日期: 2023-04-11
