Analog Devices MAX20754多相电源控制器是一款多功能器件,集成了开关稳压器,可为控制器和功率段器件供电。MAX20754提供精确的负载电流报告、功率段温度监控、故障检测并广泛支持PMBus命令。用户可以通过MAX20754将PMBus参数保存到非易失性存储器。
该控制器非常灵活,可搭配传统的分立电感器或耦合电感器拓扑使用。耦合电感器可在不增加纹波电流的情况下降低有效电感器值和尺寸,降低所需的输出电容,并改善瞬态响应。
MAX20754采用先进的调制方案 (AMS),与传统脉冲宽度调制 (PWM) 控制相比,提供了出色的瞬态响应,并降低了所需的输出电容。如果需要严格固定频率的PWM运行,则可以禁用AMS。
特性
- 多功能、灵活的控制器
- 生成多达六个PWM信号
- 单电压或双电压输出,具有灵活的相分配
- 输出电压范围:0.5V至2.0V (MAX20754ETMA1+)
- 输出电压范围:0.25V至2.0V (MAX20754ETMA2+)
- 输入电压范围:4.5V至16V
- 开关频率范围:300kHz至800kHz
- 小整体解决方案尺寸,高功率密度
- 支持耦合电感器技术
- 高级调制方案改善了瞬态响应
- 高环路带宽降低了输出电容要求
- 48引脚 (7mmx7mm) TQFN封装
- 相位-电流控制实现热平衡
- 高效集成的内部开关稳压器为控制器和功率段供电
- 简单的系统配置
- 四个外部电阻器设置输出电压、总线地址、开关频率和电流限制
- 全面的PMBus配置、控制和遥测
- 与PMBus标准1.3版兼容
- 总线速度:10kHz至1MHz
- 存储在非易失性存储器中的PMBus命令设置
- 精确的电流、电压和温度报告
应用
- 通信、网络、服务器和存储设备
- ASICs、DSP和FPGA
- 微控制器芯片组
- DDR存储器
视频
基本应用电路
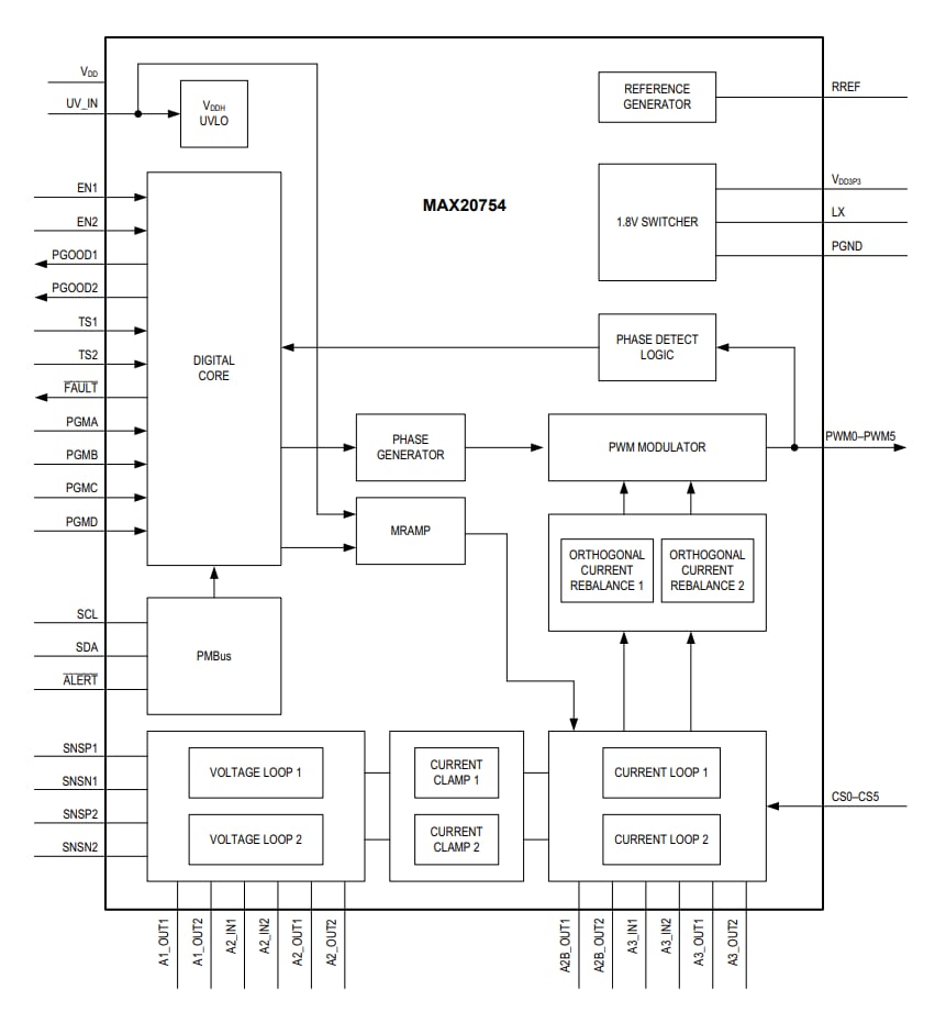
功能图
发布日期: 2021-10-18
| 更新日期: 2023-04-17

