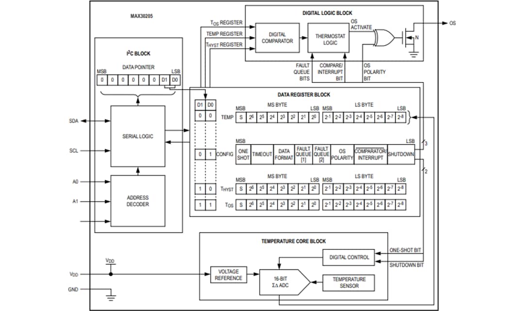
The I2C serial interface of the MAX30205 accepts standard write byte, read byte, send byte, and receive byte commands to read the temperature data and configure the behavior of the open-drain overtemperature shutdown output.
The MAX30205 features three select address lines with 32 available addresses. The sensor has a 2.7V to 3.3V supply voltage range, a low 600µA supply current, and a lockup-protected I2C-compatible interface that makes the device ideal for wearable fitness and medical applications.
The Analog Devices MAX30205 Human Body Temperature Sensor is available in an 8-pin TDFN package and operates over the 0°C to +50°C temperature range.
特性
- 高精度和低电压操作有助于帮助设计人员满足出错和电力预算
- 0.1°C精度(37°C至39°C)
- 16位 (0.00390625°C) 温度分辨率
- 2.7V至3.3V电源电压范围
- 单次和关断模式有助于降低用电量。
- 600µA(典型值)工作供电电流
- 数字化功能更容易集成到任何系统
- 可选择的超时防止总线锁住
- 独立开漏OS输出可用作中断或比较器/恒温器输出
应用
- 健身
- 医疗
视频
典型应用电路
Block Diagram
发布日期: 2016-10-28
| 更新日期: 2023-04-21

