Analog Devices / Maxim Integrated 美信 MAX31911 接口转换器/串行化器
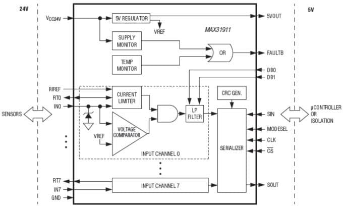
美信 MAX31911 接口转换器/串行化器是一款工业接口串行化器,可对传感器和开关的 24V 数字输出进行转换、调整和串化。它们可产生微控制器能够接受的 5V CMOS 兼容信号,适用于工业、过程控制和楼宇自动化应用。提供可编程逻辑控制器(PLC)数字输入模块的前端接口电路。该器件集成了电流限制、低通滤波和通道串行化处理功能。与传统的分立电阻分压方案相比,输入限流可大幅度减小现场电源总线的功耗。串行器具有堆栈,对任何数量的输入通道进行串行处理,并通过仅有的一个 SPI 接口输出。这样不管有几个输入通道都只需要 3 个光耦。特性
- Very low power and heat dissipation
- Low quiescent current (1.4mA typ.)
- Highly accurate and stable input current limiters, adjustable from 0.5mA to 6mA
- High integration reduces BOM count, board size, and system cost
- Eight high-voltage input channels (36V max.)
- On-chip 8-1 serialization with SPI interface
- On-chip 5V regulator
- On-chip over temperature indicator
- On-chip field supply voltage monitor
- Integrated debounce filters, selectable from 0 to 3ms
- Robust features and performance for industrial environments
- Multibit CRC code generation and transmission for error detection and more reliable data transmission
- High ESD immunity on all field input pins
- Accepts industry standard input types
- Configurable for IEC 61131-2 input types 1, 2, and 3
- Flexible power supply capability enables usage in 5V, 12V, 24V, and higher voltage systems
- Wide operating field supply range of 7V to 36V
- Can be powered from the logic-side using a 5V supply
应用
- Building automation
- Digital input modules for PLCs
- Industrial automation
- Motor control
- Process automation
Block Diagram
Application Note
发布日期: 2015-05-01
| 更新日期: 2023-04-12
