特性
- 支持代码优化,以最小化功耗
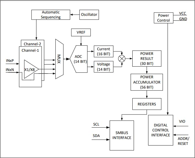
- 两个功率监视器,带有86dB宽动态范围
- 测量电流和电压
- 能够仅测量累积电流或累积功率
- 降低慢速累加模式下的功耗
- 断电模式
- 通过自主操作最大限度地减少处理器开销
- 每个通道56位功率蓄能器以每秒2048个样本的速度捕获2.27小时的数据
- 每个通道14位电压寄存器
- 高集成度解决方案可最大限度地减少零件数量、PCB空间和物料清单成本
- 5μV至100mV的电流感应电压,电流共模范围为0.5V至24V
- 16个可编程I2C地址
- 具有总线超时功能的I2C/SMBus接口
- 温度范围:-40°C至+85°C
- 小型2.24mmx1.91mm占位面积WLP,在0.5mm间距具有12个焊球,3mmx3mm占位面积TDFN 12引脚封装
- 易于开发
- 配有高级GUI的评估套件
应用
- 平板电脑
- 超级笔记本
- 工作站
- 服务器
- VR/AR耳机
框图
发布日期: 2022-11-29
| 更新日期: 2023-04-14

