Analog Devices / Maxim Integrated Integrated MAX5825 8通道12位数模转换器
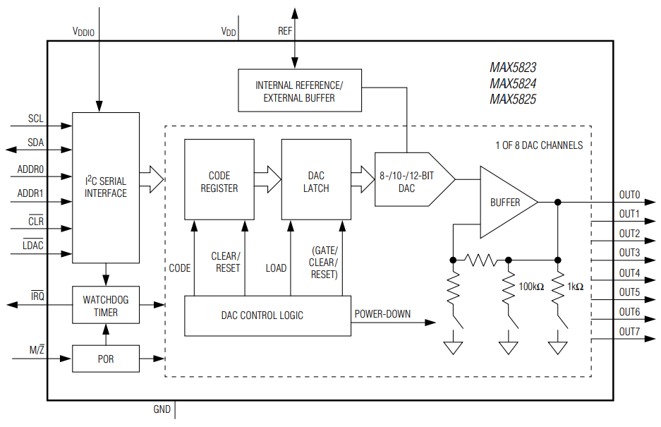
Maxim Integrated MAX5825 8通道、12位DAC为电压输出数模转换器,带有输出缓冲器和3ppm/℃的2.048V、2.500V或4.096V可选择基准。Maxim Integrated MAX5825 DAC可承受2.7V至5.5V的宽幅电源电压范围,具有超低功耗(6mW),适合绝大多数低压应用。外部精密基准输入用于支持轨到轨满幅工作,对外部基准具有100kΩ (典型值)的等效负载阻抗。MAX5825 采用 I²C兼容、2线接口,可在高达400kHz时钟速率下工作。DAC输出带有缓冲,提供每通道小于250µA的低供电电流以及±0.5mV (典型值)的低偏移误差。上电时,MAX5825根据低电平有效M/Z的逻辑输入状态将DAC输出复位至零或中间值,为大多数控制系统提供灵活性。MAX5825 内置看门狗功能,使能后用于监测I/O接口的动作及信号完整性操作。The MAX5825 has an I²C-compatible, 2-wire interface that operates at clock rates up to 400kHz. The DAC output is buffered and has a low supply current of less than 250µA per channel and a low offset error of ±0.5mV (typ). The MAX5825 resets the DAC outputs on power up to zero or midscale based on the status of active-low M/Z logic input, providing flexibility for a variety of control applications. The MAX5825 features a watchdog function that can be enabled to monitor the I/O interface for activity and integrity.
特性
- Eight high-accuracy DAC channels
- 12-Bit accuracy without adjustment
- ±1 LSB INL Buffered voltage output
- Guaranteed monotonic over all operating conditions
- Independent mode settings for each DAC
- Three precision selectable internal references
- 2.048V, 2.500V, or 4.096V
- Internal output buffer
- Rail-to-rail operation with external reference
- 4.5µs Settling time
- Outputs directly drive 2kΩ loads
- Wide 2.7V to 5.5V supply range
- Separate 1.8V to 5.5V VDDIO power-supply input
- Fast 400kHz I²C-compatible, 2-wire serial interface
- Pin-selectable power-on-reset to zero-scale or midscale DAC output
- Active-low LDAC and active-low CLR for asynchronous DAC control
- Three software-selectable power-down output impedances
- 1kΩ, 100kΩ, or high impedance
应用
- Automatic tuning and optical control
- Gain and offset adjustment
- Portable instrumentation
- Power amplifier control and biasing
- Process control and servo loops
- Programmable voltage and current sources
Functional Diagram
发布日期: 2012-04-10
| 更新日期: 2023-04-12
