Analog Devices / Maxim Integrated MAX7219 & MAX7221 8-Digit LED Drivers
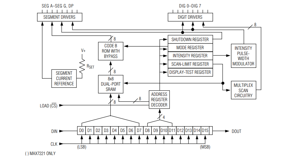
Analog Devices MAX7219 and MAX7221 8-Digit LED Display Drivers are compact, serial input/output common-cathode display drivers that interface microprocessors to 7-segment numeric LED displays of up to 8 digits, to bar-graph displays, or to 64 individual LEDs. Included on-chip are a BCD code-B decoder, multiplex scan circuitry, segment and digit drivers, and an 8x8 static RAM that stores each digit. Only one external resistor is required to set the segment current for all LEDs.A convenient 4-wire serial interface connects to all common microprocessors. Individual digits may be addressed and updated without rewriting the entire display. MAX7219 also allows the user to select code-B decoding or no-decode for each digit. Analog Devices MAX7219 and MAX7221 8-Digit LED Display Drivers include a 150μA low-power shutdown mode, analog and digital brightness control, a scan limit register that allows the user to display from 1 to 8 digits, and a test mode that forces all LEDs on.
Features
- 10MHz Serial interface
- Individual LED segment control
- Decode/no-decode digit selection
- 150μA Low-power shutdown (data retained)
- Digital and analog brightness control
- Display blanked on power-up
- Drive common-cathode LED display
Applications
- Bar-graph displays
- Industrial controllers
- Panel meters
- LED matrix displays
Functional Block Diagram
发布日期: 2012-05-25
| 更新日期: 2023-04-14
