特性
- 完全密封的开关腔
- 端子类型:螺钉、焊片/快速连接或标准化快速连接
- 标准金属或塑料拨片
- 易于集成到拨动开关面板中
- 坚固、防水设计
- 确保可靠性和耐用性
- 通过UL 61058-1认证
应用
- 大电流
- 户外
- 恶劣环境
规范
- IP67前面板密封
- 单极或双极
- UL 94V-0酚醛树脂外壳
- 银合金触点
- 拨片长度
- 标准:17.5mm
- 塑料拨片:22.7mm
- 最大电流:15A
- 最大初始接触电阻:50mΩ
- 500VDC下最小绝缘电阻:1000MΩ
- 介电强度
- 端子间最低2500Vrms 50Hz
- 端子与框架间最低3000Vrms 50Hz
- -40°C to +85°C operating temperature range
电气概览
端子选项
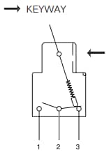
电气功能
面板开口
杠杆样式
发布日期: 2024-10-21
| 更新日期: 2024-10-24

