Broadcom APDS-9922/APDS-9160传感器
Broadcom APDS-9922/APDS-9160环境光和接近传感器在单个8引脚封装中集成了具有数字I2C兼容接口的ALS以及带红外LED的接近传感器。ALS能在弱光条件下或深色的面板后对亮度做出适光反应。该器件近似于人眼的反应具备直接读数的能力,输出计数与环境亮度成比例。APDS-9922/APDS-9160传感器具有低亮度功能,能够在黑暗的深色后操作。借助接近检测特性,无论是在明亮的阳光下,还是在黑暗的房间中,均可实现出色效果。模块内的微光学镜头支持高效地传输和接收红外能量,从而降低整体功耗。该器件采用低功耗待机模式,因此平均功耗非常低。特性
- 在光学模块中集成了ALS、红外LED和接近检测器
- 环境光传感 (ALS)
- 光输出与光强度成比例
- 利用光学涂层技术模拟人眼光谱响应
- 可在不同光源条件下正常工作
- 光敏度低 -- 可在深色玻璃后正常工作
- 高达20位分辨率
- 接近检测
- 集成红外LED和同步LED驱动器
- 高达11位分辨率
- 电源管理
- 低有源电流
- 低待机电流
- 兼容I2C接口
- 高达400kHz(I2C快速模式)
- 专用中断引脚
- 宽电源电压范围:1.7V - 3.6V
- 小型封装
应用
- 手机背光调光
- 可禁用手机触摸屏
- 自动启用扬声器
- 数码相机眼部传感器
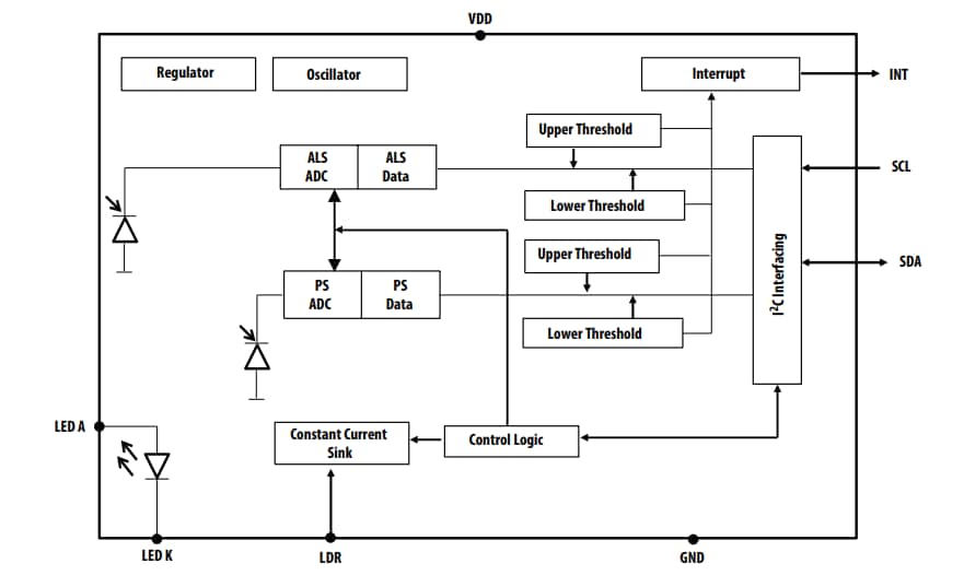
APDS-9160-003框图
APDS-9922-001框图
发布日期: 2018-12-17
| 更新日期: 2024-09-19
