特性
- 双极闩锁(南极:开、北极:关)
- 工作电压范围:3.0 V至28 V
- 高灵敏度:25G至40G和-25G至-40G(典型值)
- 输出引脚上设有内部上拉电阻器
- 耐受物理应力
- 输出过流限制
- 斩波稳定设计可提供出色的温度稳定性、最小的开关点漂移以及增强的应力抗扰度
- 良好的射频噪声抗扰性
- 电源上的反向阻断二极管和齐纳钳位
- -40 °C 到 +125 °C 工作温度
- 高ESD HBM:8kV
- 行业标准SC59、SOT23(S型)、SIP-3(弹匣装)和SIP-3(散装)封装
- 完全无铅,完全符合RoHS指令
- 无卤、无锑的绿色器件
应用
- 无刷直流电机整流换向
- 每分钟转数(RPM)测量
- 流量计
- 角度和线性编码器以及位置传感器
- 消费类家用电器、办公设备和工业应用中的非接触式换向、速度测量及角度位置检测/索引
典型应用电路
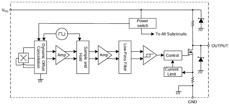
方框图
发布日期: 2024-02-21
| 更新日期: 2024-03-07

