Diodes Incorporated AP33771C USB Type-C® PD 3.1灌电流控制器
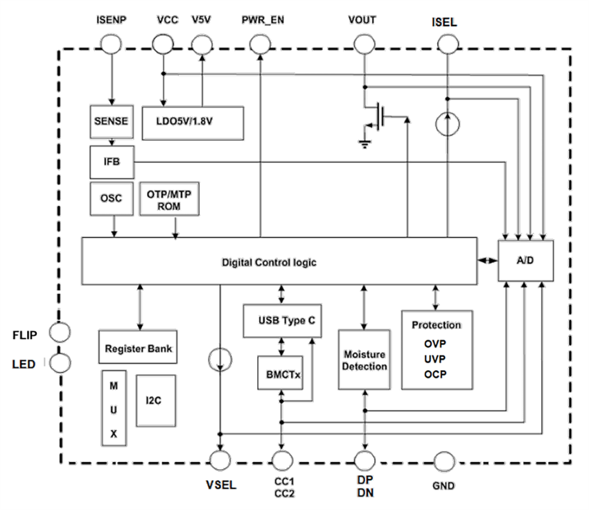
Diodes Incorporated AP33771C USB Type-C® PD 3.1灌电流控制器是高度集成的器件,支持高达28V的扩展功率范围(EPR)/可调电压电源(AVS)和高达21V的标准电源范围(SPR)/可编程电源(PPS)。该器件通过简单的外部电阻器设置针对配备Type-C连接器的设备 (TCD) 的直流电源请求/控制。对于没有系统MCU的简单TCD,AP33771C通过在上电复位(POR)后解释垂直发射激光器引脚(电压)和ISEL引脚(电流)的匹配电阻值来启动所需的电源请求。Diodes Inc AP33771C灌电流控制器基于高压工艺,可在CC1/CC2引脚和相邻高压引脚之间提供高达34V的短路保护。智能内置固件提供全面的安全保护方案,包括过压保护 (OVP)、欠压保护 (UVP)、过流保护 (OCP) 以及DP和DN之间的水分检测。LED指示灯用于显示PD电源协商状态。实施自动电缆压降补偿,以适应实际使用情况。同时,AP33771C可指示Type-C附件的插入方向。
特性
- 通过USB PD 3.1 v1.6认证,具有TID: 9960
- 工作电压范围VCC :3V至31V
- 支持高达28V的PD 3.1 EPR/AVS和高达21V的SPR/PPS
- 通过电阻器设置选择电压/电流
- 支持Type-C附件的翻转指示
- 支持具有硬复位和自动重启功能的OVP
- 支持UVP和OCP,具有输出功率关断功能
- 用于输出使能nMOS开关的驱动器
- 支持电池电量耗尽功能
- 自动电缆压降补偿
- CC1/CC2引脚上的电压总线短路保护高达34V
- DP和DN之间的水分检测
- LED指示,用于不同协商结果
- 易于使用
- 完全无铅,完全符合RoHS指令
- 无卤、无锑的绿色器件
应用
- 配备USB Type-C连接器的电池供电设备
- 配备USB Type-C连接器的直流电源输入设备
- USB PD 3.1测试仪
典型系统配置
功能框图
发布日期: 2024-09-30
| 更新日期: 2024-11-01
