Diodes Incorporated AP43771高性能USB Type-C PD控制器
Diodes Inc. AP43771高性能USB Type-C™ 供电控制器设计用于USB-Type-C适配器和充电器应用。Diodes Inc. AP43771兼容Qualcomm QC4/QC4 +协议,其支持USB供电规范Rev3.0 V1.2 (包括可选的PPS支持)。AP43771可支持PPS APDO(增强功率数据对象),具有20mV/步进电压分辨率和50mA/步进电流分辨率,用于电源管理。此外,还内置了电缆损耗补偿和用于e-Marker检测的SOP‘命令。AP43771具有内置OVP/OCP/SCP/OTP功能,可提供强大的保护方案。特性
- 兼容USB PD Rev3.0 v1.2
- USB-IF PD3.0/PPS认证TID=1090028
- Qualcomm QC4/4+协议认证
- OTP(一次性可编程),用于主固件
- MTP(多时间可编程),用于系统配置
- 内置稳压器,用于CV和CC控制
- 支持具有自动重启功能的SCP/OTP/OVP/UVP
- 支持省电模式
- 外部N-MOSFET控制,用于VBUS供电
- 支持e-Marker电缆检测
- 供电电压范围:3.3V至20V
- 外部元件数量极少
- 无铅,完全符合RoHS指令
- 无卤、无锑的绿色器件
应用
- USB Type-C适配器/充电器
- USB PD转换器
信息图
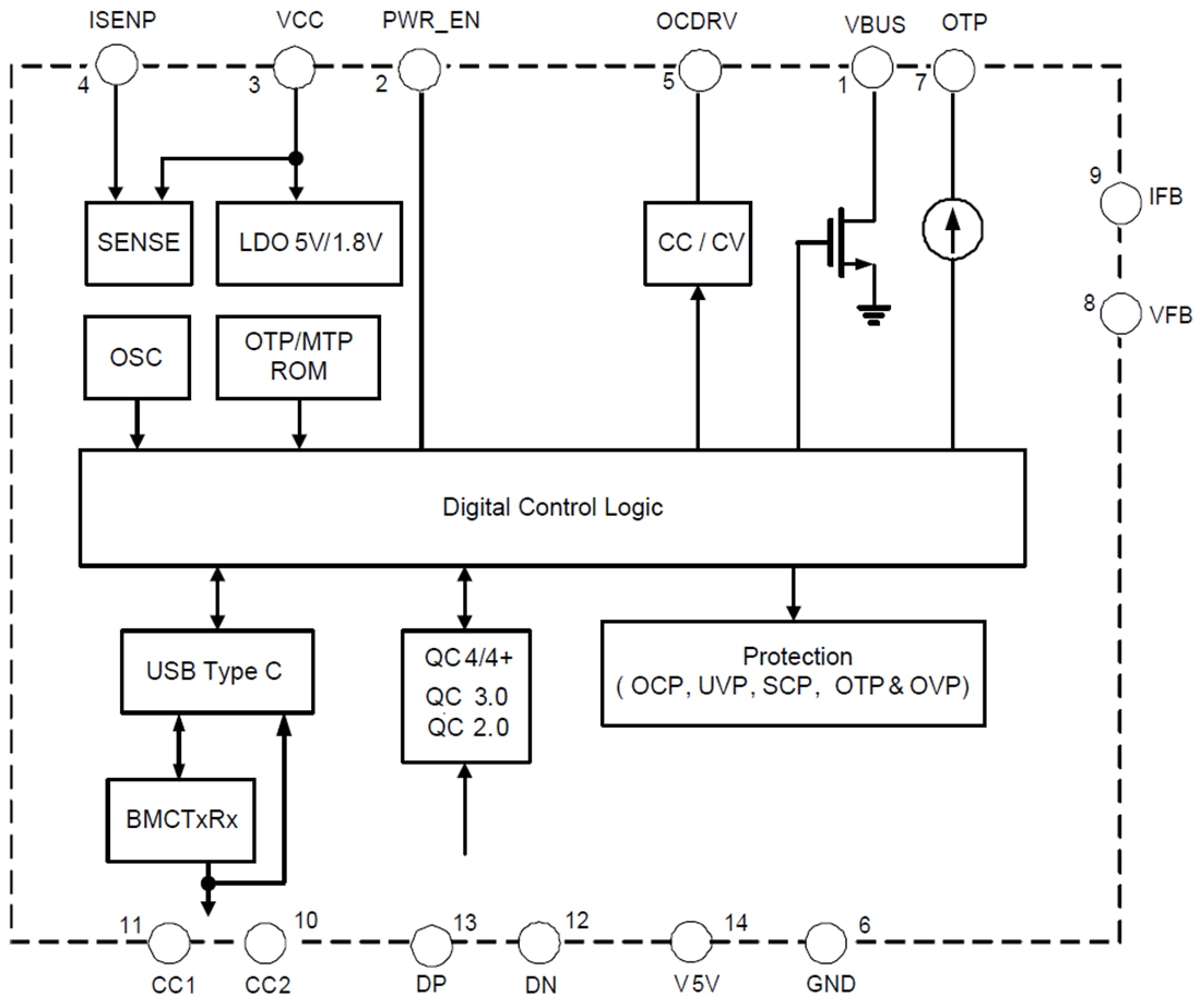
功能框图
发布日期: 2020-01-17
| 更新日期: 2024-07-03
